Запчасти Case 721D (08-05) - HYDRAULICS - OIL COOLER AND LINES (08) - HYDRAULICS

Схема запчастей Case 721D - (08-05) - HYDRAULICS - OIL COOLER AND LINES (08) - HYDRAULICS
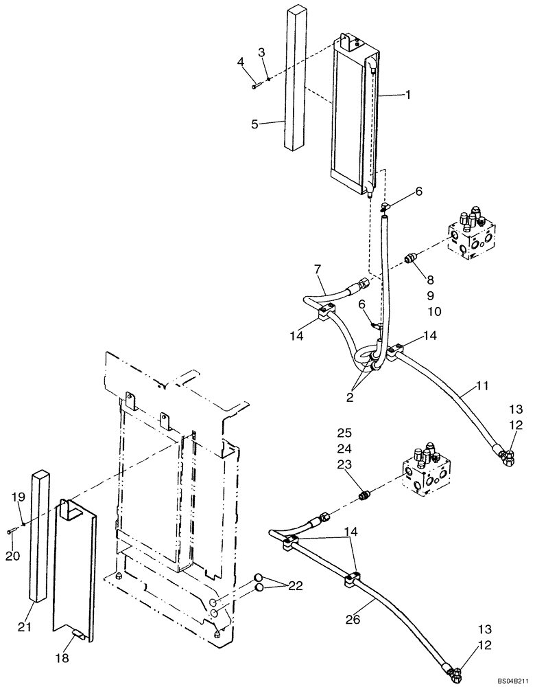
6
13
4
9
21
10
25
18
8
23
6
22
14
19
24
20
7
14
1
11
12
5
26
2
3
12
13
14
FIT
1:1
100%

Артикул

Название

Примечание

Количество

1

8501296

OIL COOLER

Hydraulic

1шт.

2

198828C1

GROMMET,25.4mm ID x 41.1mm OD x 26.9mm Thk

2шт.

3

892-11008

LOCK WASHER,8mm ID

1шт.

4

627-8035

BOLT,Hex, M8 x 1.25 x 35mm, Cl 10.9, Full Thd

1шт.

5

8500206

SEALING STRIP,65mm W x 734mm L x 50mm Thk

1шт.

6

328186A1

HOSE CLAMP

2шт.

7

8501321

FLEXIBLE HOSE

2102 mm (82 3/4 in); Fan Valve To Cooler

1шт.

8

700-104

HYD CONNECTOR,1-3/16" - 12 Male ORFS x M27 x 2 Male ORB

Incl. 9, 10

1шт.

9

238-6018

O-RING,0.07" Thk x 0.739" ID, -18, Cl 6, 90 Duro

Face Seal

1шт.

10

637-64236

O-RING,2.9mm Thk x 23.6mm ID, Cl 6, 90 Duro

Boss Seal

1шт.

11

8501322

FLEXIBLE HOSE

1372 mm (54 in); Cooler Return

1шт.

12

701-361

ELBOW,90 Degree Elbow, 1" - 14 Male ORFS x 1" - 14 Female ORFS

Incl. 13

1шт.

13

238-6016

O-RING,0.07" Thk x 0.614" ID, -16, Cl 6, 90 Duro

Face Seal

2шт.

14

367489A1

BLOCK

2шт.

REF

INSTRUCTION

WITHOUT HYDRAULIC COOLER

1шт.

18

8501329

MOUNTING PLATE

1шт.

19

892-11008

LOCK WASHER,8mm ID

1шт.

20

627-8025

BOLT,Hex, M8 x 1.25 x 25mm, Cl 10.9, Full Thd

1шт.

21

8500206

SEALING STRIP,65mm W x 734mm L x 50mm Thk

1шт.

22

353-414

PLUG,Dome, 1.375" Hole, Nylon

2шт.

23

700-104

HYD CONNECTOR,1-3/16" - 12 Male ORFS x M27 x 2 Male ORB

Incl. 24, 25

1шт.

24

238-6018

O-RING,0.07" Thk x 0.739" ID, -18, Cl 6, 90 Duro

Face Seal

1шт.

25

637-64236

O-RING,2.9mm Thk x 23.6mm ID, Cl 6, 90 Duro

Boss Seal

1шт.

26

8500195

FLEXIBLE HOSE

1962 mm (77 1/4 in); Cooler Bypass

1шт.

Выбрано товаров: 24