Запчасти Case 721D (08-10C) - CYLINDER ASSY - LOADER LIFT (Z-BAR & XT) (08) - HYDRAULICS

Схема запчастей Case 721D - (08-10C) - CYLINDER ASSY - LOADER LIFT (Z-BAR & XT) (08) - HYDRAULICS
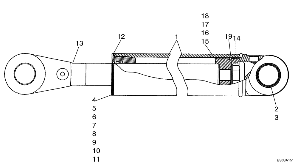
18
11
1
9
10
12
6
14
19
7
8
17
4
2
5
3
13
17
15
FIT
1:1
100%

Артикул

Название

Примечание

Количество

REF

INSTRUCTION

FOR Z-BAR AND XT MODELS

1шт.

8605290

LIFT CYLINDER

Lift; See Figure 08-10C; Replaced By 87318066

2шт.

87319194R

REMAN-HYD CYLINDER

721D (1/03-), Reman For New P/N 8605290

2шт.

87319194C

CORE-HYD CYLINDER

Return Number

1шт.

87318066

LIFT CYLINDER

See Figure 08-??????

2шт.

87319194R

REMAN-HYD CYLINDER

721D (1/03-), Reman For New P/N 87318066

2шт.

87319194C

CORE-HYD CYLINDER

Return Number

1шт.

1

446471A1

TUBE,120.53mm Bore Dia

Tube; Incl. 2

1шт.

2

87625613

BUSHING,70.14mm ID x 82.65mm OD x 36mm L

Replaces 339521A1

2шт.

3

D95147

WIPER SEAL,69.8mm ID x 82.58mm OD x 7.92mm Thk

2шт.

446478A1

GLAND

Cylinder; Order Components; Incl. 4 - 11

1шт.

4

446455A1

GLAND

1шт.

5

D95148

WIPER SEAL

1шт.

1542881C1

SEAL KIT

Incl. 6, 7

1шт.

6

NSS

NOT SOLD SEPARAT

Seal, Rod

1шт.

7

NSS

NOT SOLD SEPARAT

Seal, Buffer Seal

1шт.

8

336042A1

BUSHING

1шт.

9

446178A1

SEALING RING,110.41mm ID x 116.35mm OD x 1.09mm Thk

1шт.

10

86637742

O-RING,0.139" Thk x 4.484" ID, -246, Cl 5, 75 Duro

1шт.

11

238-5245

O-RING,0.139" Thk x 4.359" ID, -245, Cl 5, 75 Duro

1шт.

12

86642312

SELF-TAP SCREW,Hex, #8 - 32 x 3/8"

1шт.

13

446474A1

ROD

76.2 mm dia

1шт.

14

86982444

SPECIAL BOLT,Hex, 12, 1 1/2 x 3.50"

Incl. 19

1шт.

446479A1

PISTON

Incl. 15 - 18

1шт.

15

446480A1

PISTON

1шт.

16

446481A1

SEAL,117.2mm ID x 122.15mm OD x 6.96mm Thk

1шт.

17

87403649

SEALING RING,Square, 5.28mm Thk x 107.06mm ID

1шт.

18

446195A1

SEALING RING,Split, 114.27mm ID x 120.62mm OD x 19.05mm Thk

1шт.

19

NSS

NOT SOLD SEPARAT

Washer

1шт.

8605262

SEAL KIT

Incl. 3, 6 - 11, 16 - 18; Also Includes 447763A1 Expandable Seal For Service Replacement For Ref 16 Seal

1шт.

Выбрано товаров: 30