Запчасти Case 721D (08-11C) - CYLINDER ASSY - LOADER BUCKET (Z-BAR LOADER) (08) - HYDRAULICS

Схема запчастей Case 721D - (08-11C) - CYLINDER ASSY - LOADER BUCKET (Z-BAR LOADER) (08) - HYDRAULICS
19
11
12
5
7
2
14
10
9
8
17
20
18
16
3
15
4
6
1
21
22
13
FIT
1:1
100%

Артикул

Название

Примечание

Количество

REF

INSTRUCTION

Z-BAR LOADER

1шт.

8605291

BUCKET CYLINDER

146 ID x 629 mm strk; Bucket; Incl. 1 - 22; No Longer Available; Order 87441197; See Figure 08-11D

1шт.

87318786R

REMAN-HYD CYLINDER

721D (1/03-), Reman for New P/N 8605291

1шт.

87318786C

CORE-HYD CYLINDER

Return Number

1шт.

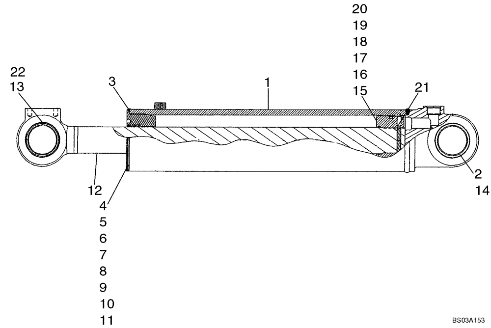
1

447832A1

TUBE

Tube; Incl. 2

1шт.

2

87625612

BUSHING,82.86mm ID x 98.53mm OD x 36mm L

LARGE; Replaces 446330A1

2шт.

3

276-2446

SELF-TAP SCREW,Hex Hd, #8 x 3/8"

1шт.

446335A1

GLAND

Cylinder; Order Components; Incl. 4 - 11

1шт.

4

446336A1

GLAND

Cylinder

1шт.

5

D95148

WIPER SEAL

1шт.

1542881C1

SEAL KIT

Incl. 6, 7

1шт.

6

NSS

NOT SOLD SEPARAT

Seal, Rod

1шт.

7

NSS

NOT SOLD SEPARAT

Seal, Buffer Seal

1шт.

8

336042A1

BUSHING

1шт.

9

238-5254

O-RING,0.139" Thk x 5.484" ID, -254, Cl 5, 75 Duro

1шт.

10

446179A1

SEALING RING,135.99mm ID x 141.93mm OD x 1.4mm Thk

1шт.

11

238-5253

O-RING,0.139" Thk x 5.359" ID, -253, Cl 5, 75 Duro

1шт.

12

87417334

PISTON ROD

76.2 mm dia; Incl. 13

1шт.

13

87417464

BUSHING

2шт.

14

365523A1

WIPER SEAL

2шт.

446337A1

PISTON

Incl. 15 - 20

1шт.

15

446338A1

PISTON

1шт.

16

446339A1

SEAL,140.03mm ID x 147.81mm OD x 9.32mm Thk

1шт.

17

446340A1

SEALING RING,Square, 6.86mm Thk x 126.11mm ID

1шт.

18

238-6234

O-RING,0.139" Thk x 2.984" ID, -234, Cl 6, 90 Duro

1шт.

19

G32122

BACK-UP RING,75.82mm ID x 81.92mm OD x 1.4mm Thk

1шт.

20

446196A1

SEALING RING,Split, 139.7mm ID x 146.05mm OD x 19.05mm Thk

1шт.

21

356588A1

DOWEL

Pin

1шт.

8605263

SEAL KIT

Incl. 5 - 11, 16, 17, 20; Also Includes 447764A1 Expandable Seal For Service Replacement For Ref 16 Seal

1шт.

22

L128725

SEAL,82.55mm ID x 95.38mm OD x 7.9mm Thk

Pin

2шт.

Выбрано товаров: 30