Запчасти Case 721D (08-11D) - CYLINDER ASSY - LOADER BUCKET (Z-BAR LOADER) (08) - HYDRAULICS

Схема запчастей Case 721D - (08-11D) - CYLINDER ASSY - LOADER BUCKET (Z-BAR LOADER) (08) - HYDRAULICS
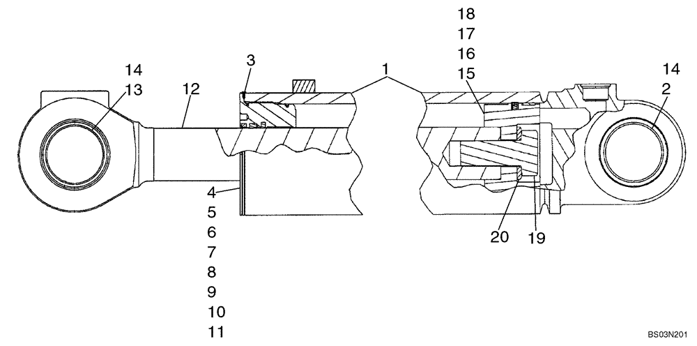
16
17
12
2
1
4
6
3
10
14
15
5
14
7
9
19
18
13
11
20
8
FIT
1:1
100%

Артикул

Название

Примечание

Количество

REF

INSTRUCTION

Z-BAR LOADER

1шт.

87441197

BUCKET CYLINDER

145.9 ID x 629.4 mm strk; Bucket; Incl. 1 - 22

1шт.

87318786R

REMAN-HYD CYLINDER

721D (1/03-), Reman for New P/N 87441197

1шт.

87318786C

CORE-HYD CYLINDER

Return Number

1шт.

1

87432278

BARREL

Incl. 2

1шт.

2

87625612

BUSHING,82.86mm ID x 98.53mm OD x 36mm L

Large; Replaces 446330A1

2шт.

3

86642312

SELF-TAP SCREW,Hex, #8 - 32 x 3/8"

1шт.

446335A1

GLAND

Cylinder; Order Components; Incl. 4 - 11

1шт.

4

446336A1

GLAND

Cylinder

1шт.

5

D95148

WIPER SEAL

1шт.

1542881C1

SEAL KIT

Incl. 6, 7

1шт.

6

NSS

NOT SOLD SEPARAT

Seal, Rod

1шт.

7

NSS

NOT SOLD SEPARAT

Seal, Buffer Seal

1шт.

8

336042A1

BUSHING

1шт.

9

238-5254

O-RING,0.139" Thk x 5.484" ID, -254, Cl 5, 75 Duro

1шт.

10

446179A1

SEALING RING,135.99mm ID x 141.93mm OD x 1.4mm Thk

1шт.

11

238-5253

O-RING,0.139" Thk x 5.359" ID, -253, Cl 5, 75 Duro

1шт.

12

87432290

PISTON ROD,76.18mm OD x 977.5mm L

76.2 mm dia; Incl. 13

1шт.

13

87625612

BUSHING,82.86mm ID x 98.53mm OD x 36mm L

Large; Replaces 446330A1

2шт.

14

365523A1

WIPER SEAL

4шт.

87432305

PISTON

Incl. 15 - 20

1шт.

15

NSS

NOT SOLD SEPARAT

Piston

1шт.

16

446339A1

SEAL,140.03mm ID x 147.81mm OD x 9.32mm Thk

1шт.

17

446340A1

SEALING RING,Square, 6.86mm Thk x 126.11mm ID

1шт.

18

446196A1

SEALING RING,Split, 139.7mm ID x 146.05mm OD x 19.05mm Thk

1шт.

19

86982444

SPECIAL BOLT,Hex, 12, 1 1/2 x 3.50"

Incl. 20

1шт.

20

NSS

NOT SOLD SEPARAT

Washer

1шт.

87442965

SEAL KIT

Incl. 5 - 8; Also Includes Seals And O-rings Not Used In This Application

1шт.

Выбрано товаров: 28