Запчасти Case 721D (08-11E) - CYLINDER ASSY - LOADER BUCKET (XT LOADER) (08) - HYDRAULICS

Схема запчастей Case 721D - (08-11E) - CYLINDER ASSY - LOADER BUCKET (XT LOADER) (08) - HYDRAULICS
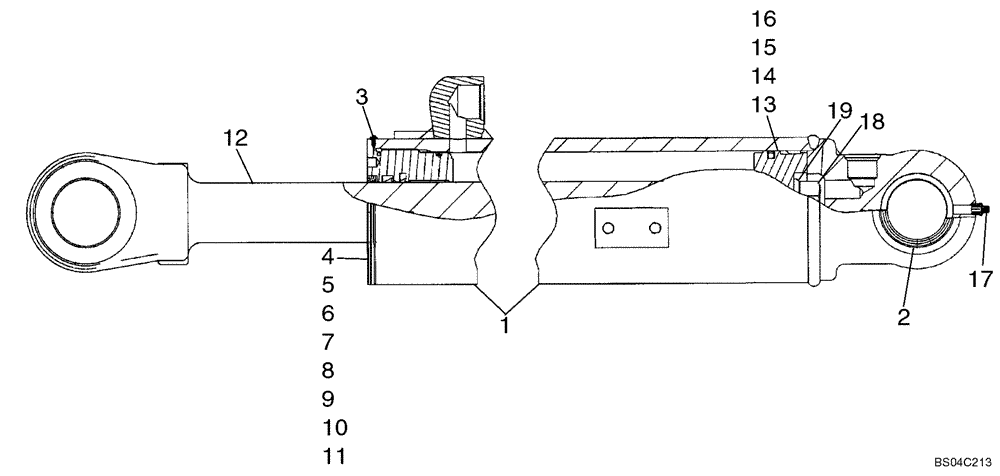
10
12
8
18
17
15
13
1
16
19
9
2
11
3
6
5
14
7
4
FIT
1:1
100%

Артикул

Название

Примечание

Количество

REF

INSTRUCTION

XT LOADER

1шт.

87440056

BUCKET CYLINDER,Double Acting, 57.2mm Rod, 856.5mm Stroke

1114mm ID x 856.5mm Stroke; Bucket; Incl. 1 - 22

1шт.

87437484

BUCKET CYLINDER

Incl. 2 - ????

1шт.

1

87437485

BARREL

Tube, Incl. 2

1шт.

2

87625614

BUSHING,57.44mm ID x 69.95mm OD x 20mm L

Replaces 363583A1

2шт.

3

86642312

SELF-TAP SCREW,Hex, #8 - 32 x 3/8"

1шт.

87437495

GLAND

Cylinder; Order Components; Incl. 4 - 11

1шт.

4

87437496

GLAND

1шт.

5

D95145

WIPER SEAL,54.79mm ID x 70.09mm OD x 7.91mm W

2шт.

1542877C1

SEAL KIT,57.2mm Rod

Incl. 6, 7; Not Serviced Separately, Order Seal Kit 87440117

1шт.

6

NSS

NOT SOLD SEPARAT

Seal, Rod; Order Seal Kit 87440117

1шт.

7

NSS

NOT SOLD SEPARAT

Seal, Buffer Seal; Order Seal Kit 87440117

1шт.

8

336039A1

BUSHING

1шт.

9

238-5244

O-RING,0.139" Thk x 4.234" ID, -244, Cl 5, 75 Duro

1шт.

10

G109300

RING,113.46mm ID x 118.97mm OD x 1.17mm Thk

1шт.

11

238-5243

O-RING,0.139" Thk x 4.11" ID, -243, Cl 5, 75 Duro

1шт.

12

87437489

PISTON ROD

57.2mm dia

1шт.

G110251

PISTON ASSY.

Incl. 13- 16

1шт.

13

G110252

PISTON

1шт.

14

G101994

SEAL,RECTANGULAR, 111.02mm ID x 115.75mm OD x 6.96mm Thk

Rectangular Piston

1шт.

15

G101995

SEALING RING,Square, 5.28mm Thk x 100.71mm ID

SEALRING Ring, Loader

1шт.

16

G101996

WEAR RING,4.5" OD x 0.75" Thk

Wear Ring

1шт.

17

219-1

LUBE NIPPLE,1/8" - 27 NPTF

1шт.

18

86982442

SPECIAL BOLT,Hex, 12, 1 1/4 x 3.25"

Incl. 20

1шт.

19

NSS

NOT SOLD SEPARAT

Washer

1шт.

87440117

SEAL KIT

Incl. 5-11, 14-16

1шт.

Выбрано товаров: 26