Запчасти Case 721D (08-14B) - HYDRAULICS - COUPLER LOCKING (08) - HYDRAULICS

Схема запчастей Case 721D - (08-14B) - HYDRAULICS - COUPLER LOCKING (08) - HYDRAULICS
11
11
13
5
1a
16
12
15
2
4
1b
1
9
13
7
14
7
18
10
3
6
12
8
17
FIT
1:1
100%

Артикул

Название

Примечание

Количество

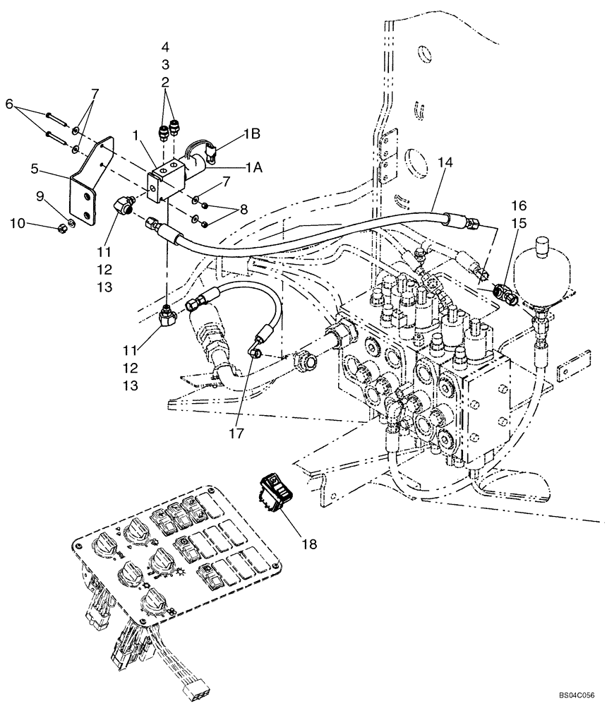
1

379139A1

SOLENOID VALVE

Coupler Locking; Incl. 1 - 1C, Serial Range: -N9F206858

1шт.

1

84139102

SOLENOID VALVE

, Start Serial: N9F206859

1шт.

1a

NSS

NOT SOLD SEPARAT

Coil

1шт.

1b

8605216

SOLENOID VALVE

Component Parts Not Serviced Separately; Order 8605153 Seal Kit; Incl. 1C

1шт.

1c

124639A1

SEAL KIT

Includes (4) O-Rings and (6) Backup Rings, Which Are Not Serviced Separately

1шт.

2

700-101

HYD CONNECTOR,11/16" - 16 Male ORFS x M14 x 1.5 Male ORB

Incl. 3, 4

2шт.

3

637-63113

O-RING,2.2mm Thk x 11.3mm ID, Cl 6

1шт.

4

238-6012

O-RING,0.07" Thk x 0.364" ID, -12, Cl 6, 90 Duro

Face Seal

1шт.

5

442303A1

BRACKET

1шт.

6

827-6050

BOLT,Hex, M6 x 50mm, Cl 10.9

2шт.

7

895-25006

WASHER,6.6mm ID x 18mm OD x 1.6mm Thk

4шт.

8

832-10406

NUT,M6 x 1, Cl 8

2шт.

9

895-15010

WASHER,11mm ID x 24mm OD x 2mm Thk

2шт.

10

832-10410

NUT,M10 x 1.5, Cl 8

2шт.

11

700-304

ELBOW,90 Degree Elbow, 11/16" - 16 Male ORFS x M14 x 1.5 Male ORB

Incl. 12, 13

2шт.

12

637-63113

O-RING,2.2mm Thk x 11.3mm ID, Cl 6

1шт.

13

238-6012

O-RING,0.07" Thk x 0.364" ID, -12, Cl 6, 90 Duro

Face Seal

1шт.

14

8500756

FLEXIBLE HOSE

325 mm (12-13/16 in); Pressure

1шт.

15

701-422

TEE,11/16" - 16 Male ORFS x 11/16" - 16 Male ORFS x 11/16" - 16 Female ORFS

Incl. 16

1шт.

16

238-6012

O-RING,0.07" Thk x 0.364" ID, -12, Cl 6, 90 Duro

Face Seal

3шт.

17

8500757

FLEXIBLE HOSE

400 mm (15-3/4 in); Coupler

1шт.

18

364444A2

SWITCH

Pin Engage

1шт.

19

A149799

FUSE

7.5 amp; Not Illustrated

1шт.

Выбрано товаров: 23