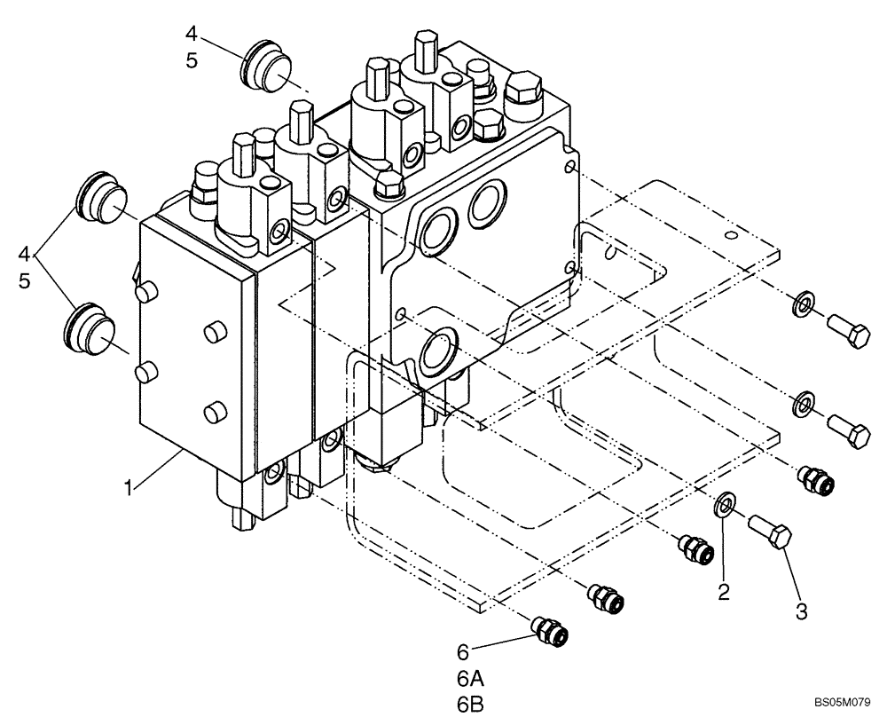
Запчасти Case 721D (08-17) - VALVE, CONTROL - MOUNTING, FOUR SPOOL (Z-BAR/XT LOADER) (08) - HYDRAULICS

Схема запчастей Case 721D - (08-17) - VALVE, CONTROL - MOUNTING, FOUR SPOOL (Z-BAR/XT LOADER) (08) - HYDRAULICS
4
3
2
5
4
6a
5
6b
1
6
FIT
1:1
100%

Артикул

Название

Примечание

Количество

REF

INSTRUCTION

Four Spool Valve Mounting, Z-Bar and XT

1шт.

1

87440135

HYDRAULIC VALVE

Four Spool; Z-Bar Loader; Replaces 8500495; See Figures 08-17A, 08-17B

1шт.

1

87539264

HYDRAULIC VALVE

Four Spool; Z-Bar Loader; Replaces 87450852; See Figures 08-17C, 08-17D

1шт.

1

87450855

HYDRAULIC VALVE

Four Spool; XT Loader; Replaces 87440138, 87310591; See Figures 08-17E, 08-17F

1шт.

1

87539267

HYDRAULIC VALVE

Four Spool; XT Loader; See Figures 08-17G, 08-17H

1шт.

2

896-11012

WASHER,13.5mm ID x 24mm OD x 3mm Thk

3шт.

3

627-12030

BOLT,Hex, M12 x 1.75 x 30mm, Cl 10.9, Full Thd

3шт.

4

221527A1

PLUG,Hex Soc, M33 x 2, ORB

Incl. 5; Z-Bar and XR Loader Valves

4шт.

5

637-64296

O-RING,2.9mm Thk x 29.6mm ID, Cl 6, 90 Duro

Boss Seal

1шт.

6

700-101

HYD CONNECTOR,11/16" - 16 Male ORFS x M14 x 1.5 Male ORB

Incl. 6A, 6B; If Used

4шт.

6a

238-6012

O-RING,0.07" Thk x 0.364" ID, -12, Cl 6, 90 Duro

Face Seal

1шт.

6b

637-63113

O-RING,2.2mm Thk x 11.3mm ID, Cl 6

1шт.

Выбрано товаров: 12