Запчасти Case 721D (08-17D) - VALVE SECTION - BUCKET/BOOM/OPTIONAL SPOOLS (4 SPOOL VALVE) (Z-BAR) - IF USED (08) - HYDRAULICS

Схема запчастей Case 721D - (08-17D) - VALVE SECTION - BUCKET/BOOM/OPTIONAL SPOOLS (4 SPOOL VALVE) (Z-BAR) - IF USED (08) - HYDRAULICS
10
6
6
2
4
1
13
7
1
3
3
1
11
8
2
9
2
5
6
2
5
12
13
2
1
5
4
FIT
1:1
100%

Артикул

Название

Примечание

Количество

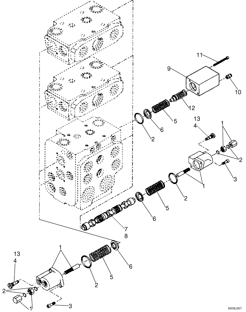
87539264

HYDRAULIC VALVE

Incl. 1 - 13; Also Includes Housing Assembly On Figure 08-17C; Replaces 87450852 Valve

1шт.

1

8602890

COVER

Component Parts Not Serviced Separately

7шт.

2

8604934

SEAL KIT

Load Sensing Control Block; Includes (29) O-Rings, Which Are Not Serviced Separately

1шт.

3

962-6016

HEX SOC SCREW,M6 x 16mm, Cl 10.9

14шт.

4

8602924

CARTRIDGE

M12 x 1.5

5шт.

5

8602917

SPRING

8шт.

6

8602918

RETAINER

Spring

8шт.

7

87311763

SPOOL

Replaces 8602894

3шт.

8

8602895

SPOOL

Boom; Used with Ref 9

1шт.

9

87311762

COVER

For 4 Spool End Cap; Replaces 8602891

1шт.

10

8604578

CHECK VALVE

1шт.

11

8602892

HEX SOC SCREW,M6 x 105mm

Hex Socket; M6 x 105

2шт.

12

87311768

SPRING

Assy, Compression for Float

1шт.

13

87311766

PLUG

2шт.

Выбрано товаров: 14