Качественные детали и логистика
Оригинальные и аналоговые запчасти с доставкой по России, Казахстану и Беларуси
©2022 PartSell ООО "Система" ИНН 2463123282 ОГРН 1212400004838
Центральный офис: г. Красноярск, Академика Киренского, д.87, пом.4
Телефон: 8 (800) 777-65-74 Email: zakaz@partsell.ru
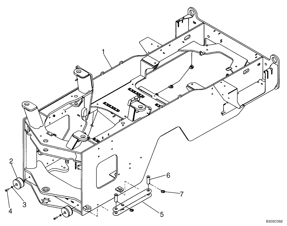
(09-08A) - FRAME, REAR
№
Артикул
Название
Примечание
Количество
1
87316966
FRAME
Rear
1шт.
2
8500043
DAMPER,125mm OD x 70mm L
2шт.
3
892-11012
LOCK WASHER,M12
11 x 20 x 2 mm
4
627-12040
BOLT,Hex, M12 x 1.75 x 40mm, Cl 10.9, Full Thd
5
412067A1
LOCKING BAR
Transport And Service
6
126268A1
PIN,31.8mm OD x 108mm L
Articulation Lock
7
A30338
PIN
Klik
Выбрано товаров: 0