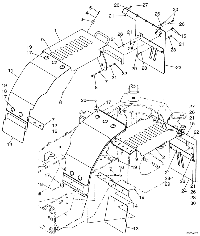
Запчасти Case 721D (09-17) - FENDERS, REAR - WIDE (09) - CHASSIS

Схема запчастей Case 721D - (09-17) - FENDERS, REAR - WIDE (09) - CHASSIS
26
7
17
21
23
24
27
21
7
26
27
13
13
6
4
16
19
10
12
28
2
18
26
30
26
15
17
29
9
32
20
1
17
26
5
29
26
30
25
21
18
16
26
28
15
8
1
21
28
31
17
2
28
3
22
19
19
21
7
14
21
9
11
19
FIT
1:1
100%

Артикул

Название

Примечание

Количество

REF

INSTRUCTION

WIDE - IF USED; OTHERWISE SEE FIGURE 09-17A

1шт.

1

434431A1

SUPPORT

LH Platform; No Longer Used; See Figure 09-17A

1шт.

2

434432A1

SUPPORT

RH Hand Platform; No Longer Used; See Figure 09-17A

1шт.

3

L126483

BUMPER

2шт.

4

495-11028

WASHER,1/4", SAE

4шт.

5

827-6045

BOLT,Hex, M6 x 45mm, Cl 10.9

2шт.

6

832-10406

NUT,M6 x 1, Cl 8

2шт.

7

896-15012

WASHER,13.5mm ID x 28mm OD x 4mm Thk

8шт.

8

827-12080

BOLT,Hex, M12 x 1.75 x 80mm, Cl 10.9

4шт.

9

D55216

PAD,2" x 9"

14шт.

10

434893A1

REAR FENDER

RH Side

1шт.

11

434894A1

REAR FENDER

LH Side

1шт.

12

8501249

BRACKET

LH Side

1шт.

13

393328A1

MUDFLAP

Rear

2шт.

14

FAR8501248

BRACKET

RH Side

1шт.

15

896-15010

WASHER,11mm ID x 24mm OD x 3mm Thk

8шт.

16

627-12040

BOLT,Hex, M12 x 1.75 x 40mm, Cl 10.9, Full Thd

4шт.

17

345357A1

SQ HOLE WASHER

10шт.

18

612-7

CARRIAGE BOLT,M8 x 40mm, Class 4.6

4шт.

19

825-2408

FLANGE NUT,M8 x 1.25, Flg, Cl 8

10шт.

20

612-6

CARRIAGE BOLT,M8 x 30mm, Class 4.6

6шт.

21

832-10410

NUT,M10 x 1.5, Cl 8

20шт.

22

395887A3

MUDFLAP

RH Side

1шт.

23

395886A3

MUDFLAP

LH Side

1шт.

24

393563A1

MUDFLAP

Rear

2шт.

25

396043A1

PLATE

Mud Flap

2шт.

26

39519

WASHER,10.31mm ID x 34.9mm OD x 3.57mm Thk

18шт.

27

627-10025

BOLT,Hex, M10 x 1.5 x 25mm, Cl 10.9, Full Thd

10шт.

28

895-11010

WASHER,11mm ID x 20mm OD x 2mm Thk

12шт.

29

827-10040

BOLT,Hex, M10 x 1.5 x 40mm, Cl 10.9, Full Thd

4шт.

30

627-10030

BOLT,Hex, M10 x 1.5 x 30mm, Cl 10.9, Full Thd

6шт.

31

892-11012

LOCK WASHER,M12

4шт.

32

829-1412

NUT,M12, Cl 10.9

4шт.

Выбрано товаров: 33