Запчасти Case 721D (09-17A) - FENDERS, REAR - WIDE - IF USED (09) - CHASSIS

Схема запчастей Case 721D - (09-17A) - FENDERS, REAR - WIDE - IF USED (09) - CHASSIS
30
1
17
17
20
19
27
14
29
12
8
23
26
9
7
13
18
13a
19
18
26
26
7
15
24
4
22
17
2
10
19
17
11
6
28
16
9
31
3
7
21
5
19
23
22
FIT
1:1
100%

Артикул

Название

Примечание

Количество

REF

INSTRUCTION

WIDE

1шт.

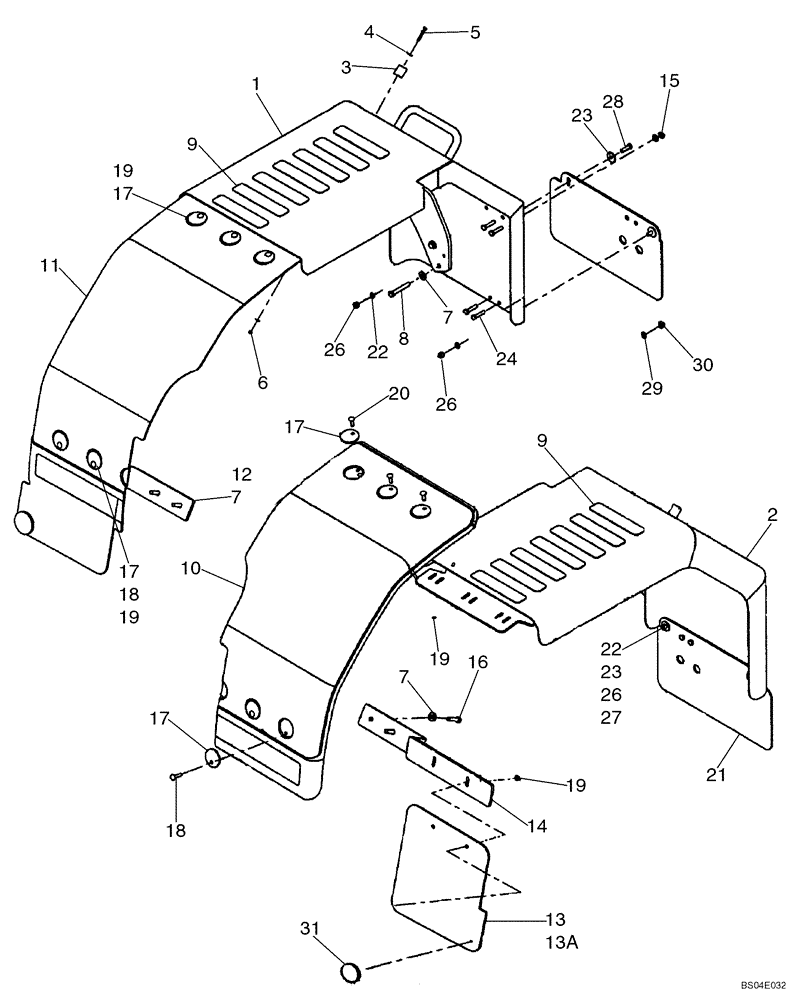
1

87436085

SUPPORT

LH Platform

1шт.

2

87436086

SUPPORT

RH Platform

1шт.

3

L126483

BUMPER

2шт.

4

495-11028

WASHER,1/4", SAE

4шт.

5

827-6045

BOLT,Hex, M6 x 45mm, Cl 10.9

2шт.

6

832-10406

NUT,M6 x 1, Cl 8

2шт.

7

896-15012

WASHER,13.5mm ID x 28mm OD x 4mm Thk

8шт.

8

827-12080

BOLT,Hex, M12 x 1.75 x 80mm, Cl 10.9

4шт.

9

D55216

PAD,2" x 9"

14шт.

10

434893A1

REAR FENDER

RH Side

1шт.

11

434894A1

REAR FENDER

LH Side

1шт.

12

8501249

BRACKET

LH Side

1шт.

13

393328A1

MUDFLAP

Rear; Length 388mm ( 15 1/4 in ); If Used

2шт.

13a

87451033

MUDFLAP

Rear; Length 426mm ( 16 3/4 in ); If Used

2шт.

14

8501248

RIGID TUBE

RH Side

1шт.

15

896-15010

WASHER,11mm ID x 24mm OD x 3mm Thk

16шт.

16

827-12050

BOLT,Hex, M12 x 1.75 x 50mm, Cl 10.9

4шт.

17

345357A1

SQ HOLE WASHER

10шт.

18

612-7

CARRIAGE BOLT,M8 x 40mm, Class 4.6

4шт.

19

825-2408

FLANGE NUT,M8 x 1.25, Flg, Cl 8

10шт.

20

612-6

CARRIAGE BOLT,M8 x 30mm, Class 4.6

6шт.

21

87436095

MUDFLAP

Rear

2шт.

22

895-11010

WASHER,11mm ID x 20mm OD x 2mm Thk

4шт.

23

39519

WASHER,10.31mm ID x 34.9mm OD x 3.57mm Thk

4шт.

24

827-10045

BOLT,Hex, M10 x 1.5 x 45mm, Cl 10.9

8шт.

25

832-10410

NUT,M10 x 1.5, Cl 8

4шт.

26

627-10030

BOLT,Hex, M10 x 1.5 x 30mm, Cl 10.9, Full Thd

2шт.

27

627-10035

BOLT,Hex, M10 x 1.5 x 35mm, Cl 10.9, Full Thd

2шт.

28

892-11012

LOCK WASHER,M12

4шт.

29

829-1412

NUT,M12, Cl 10.9

4шт.

30

76034682

REFLECTOR

80mm Diameter

2шт.

Выбрано товаров: 32