Запчасти Case 721D (02-20) - TURBOCHARGER SYSTEM (02) - ENGINE

Схема запчастей Case 721D - (02-20) - TURBOCHARGER SYSTEM (02) - ENGINE
10
11
14
4
12
10
13
8
9
17
17
17
14
9
6
12
14
5
17
2
4a
12
16
15
3
17
5
12
16
11
1
14
14
17
FIT
1:1
100%

Артикул

Название

Примечание

Количество

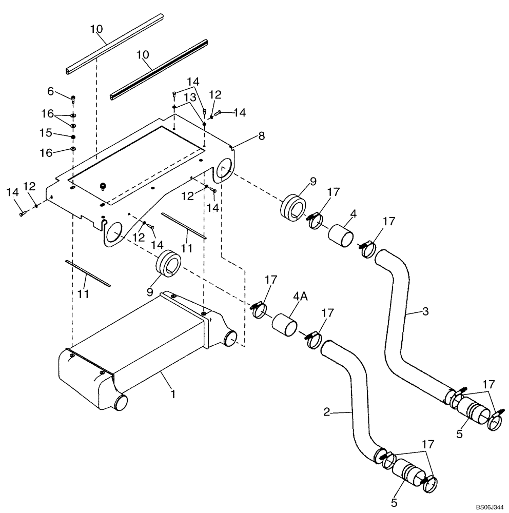
1

347613A1

AFTERCOOLER

1шт.

2

8605799

AIR INTAKE TUBE,76.20 OD x 344, 473 mm L

Turbo To Air Cooler; Replaces 8602657

1шт.

3

8605800

AIR INTAKE TUBE,76.20 mm OD x 453, 631 mm L

Air Cooler To Intake; Replaces 8500077

1шт.

4

87572378

HOSE

Air Intake Hose, 89mm (3 1/2 in), Replaces 87340629, 329736A1

1шт.

4a

87572375

HOSE,76.2mm ID x 89mm L

Air Intake Hose, 89mm (3 1/2 in), Replaces 87340628, 329736A1

1шт.

5

8501051

AIR HOSE,76.20 mm ID x 140.00 mm

Charge Air

2шт.

6

561-703

HEX SOC SCREW,M8 x 32.4, 10 x 16mm shldr, Cl 12.9

Elbow

2шт.

8

8602508

MOUNTING PLATE

1шт.

9

8500167

SEAL

Air Tubes

2шт.

10

8500144

SEAL

2шт.

11

8500143

FOAM INSULATION,9mm W x 290mm L x 3mm Thk

2шт.

12

892-11008

LOCK WASHER,8mm ID

6шт.

13

627-8016

BOLT,Hex, M8 x 1.25 x 16mm, Cl 10.9, Full Thd

2шт.

14

627-8025

BOLT,Hex, M8 x 1.25 x 25mm, Cl 10.9, Full Thd

4шт.

15

386040R1

SPRING

Poppet Return

2шт.

16

895-15010

WASHER,11mm ID x 24mm OD x 2mm Thk

6шт.

17

L115549

CLAMP,69.85mm - 92.08mm

8шт.

Выбрано товаров: 17