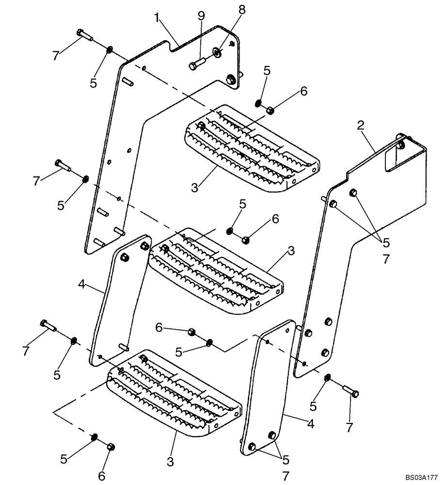
Запчасти Case 721D (09-22) - FENDERS, REAR - STEPS - RIGHT - IF USED (09) - CHASSIS

Схема запчастей Case 721D - (09-22) - FENDERS, REAR - STEPS - RIGHT - IF USED (09) - CHASSIS
7
7
7
7
5
5
5
5
5
3
2
6
7
5
5
5
5
4
8
6
6
3
9
4
1
7
3
6
5
FIT
1:1
100%

Артикул

Название

Примечание

Количество

REF

INSTRUCTION

RH SIDE; IF USED; OTHERWISE SEE FIGURE 09-22A

1шт.

1

433663A1

BRACKET

RH Step Support

1шт.

2

433658A1

BRACKET

RH Step Support

1шт.

3

257375A1

STEP

Cast Aluminum

3шт.

4

384129A1

BRACKET

2шт.

5

895-11010

WASHER,11mm ID x 20mm OD x 2mm Thk

33шт.

6

832-10410

NUT,M10 x 1.5, Cl 8

16шт.

7

827-10040

BOLT,Hex, M10 x 1.5 x 40mm, Cl 10.9, Full Thd

16шт.

8

896-15012

WASHER,13.5mm ID x 28mm OD x 4mm Thk

4шт.

9

827-12050

BOLT,Hex, M12 x 1.75 x 50mm, Cl 10.9

4шт.

Выбрано товаров: 10