Запчасти Case 721D (09-32) - COVERS - CAB OR CANOPY - WITHOUT AIR CONDITIONING (09) - CHASSIS

Схема запчастей Case 721D - (09-32) - COVERS - CAB OR CANOPY - WITHOUT AIR CONDITIONING (09) - CHASSIS
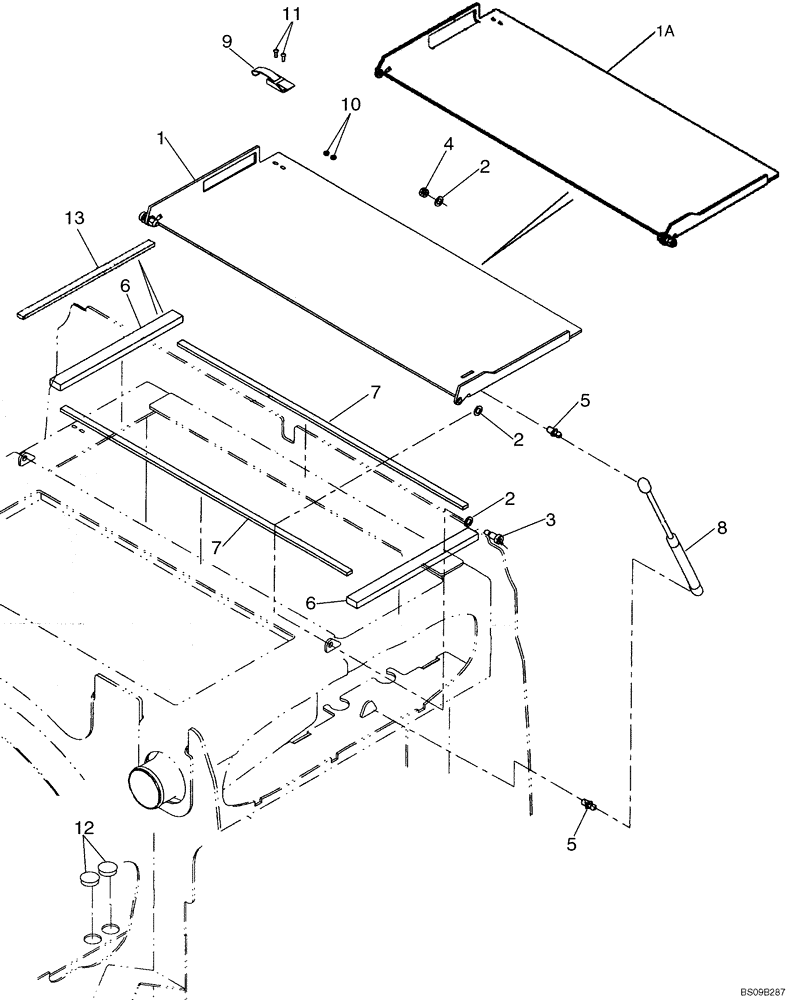
6
9
3
2
8
5
13
1
1a
5
6
2
4
2
7
12
10
7
11
FIT
1:1
100%

Артикул

Название

Примечание

Количество

REF

INSTRUCTION

MODELS WITHOUT AIR CONDITIONING

1шт.

1

8602727

PLATE

W/ Bracket For Gas Spring; No Longer Available, Order 84180094 Plate, Ref. 1A; Gas Strut and Studs Will No Longer Be Used If 84180094 Plate Is Ordered, Serial Range: -N9F206893

1шт.

1a

84180094

PLATE

PLATE, Without Bracket For Gas Spring, Start Serial: N9F206893

1шт.

2

895-18010

WASHER,10.5mm ID x 18mm OD x 1.6mm Thk

6шт.

3

561-703

HEX SOC SCREW,M8 x 32.4, 10 x 16mm shldr, Cl 12.9

2шт.

4

832-10408

NUT,M8 x 1.25, Cl 8.8

2шт.

5

350662A1

STUD

If Used, Serial Range: -N9F206893

2шт.

6

8602498

SEALING STRIP,25mm W x 294mm L x 13mm Thk

1шт.

7

8500133

OIL SEAL

Oil Cooler; Side

2шт.

8

252550A2

GAS STRUT

Cylinder; If Used, Serial Range: -N9F206893

1шт.

9

60-4640T1

LATCH

1шт.

10

225-14108

NUT,#8-32

2шт.

11

440-1088

SCREW,Cross Pan Hd, #8-32 x 1/2"

2шт.

12

353-414

PLUG,Dome, 1.375" Hole, Nylon

2шт.

13

87432328

SEAL

1шт.

Выбрано товаров: 15