Запчасти Case 721D (09-34) - CAB - INTERIOR TRIM (09) - CHASSIS

Схема запчастей Case 721D - (09-34) - CAB - INTERIOR TRIM (09) - CHASSIS
17
15
6
14
19
3
13
20
8
18
4
13
5
1
11
22
23
2
10
7
10
16
12
9
21
FIT
1:1
100%

Артикул

Название

Примечание

Количество

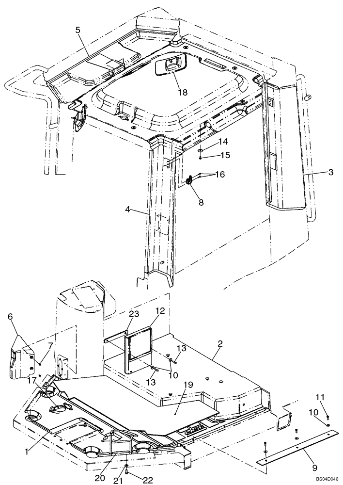
1

8602779

FLOOR MAT

Front

1шт.

2

234003A2

FLOOR MAT

Platform

1шт.

3

399214A1

COVER

Rear Post; LH

1шт.

4

399215A1

COVER

Rear Post; RH

1шт.

5

399216A1

ROOF LINING

Cab

1шт.

6

399217A1

COVER

Harness

1шт.

7

239225A1

SCREW,Phillips Drive, Pan HD, M4 x 0.7 x 12mm

Special

2шт.

8

114549A1

COAT HOOK

2шт.

9

279565A1

PROTECTION STRIP

1шт.

10

1990503C1

WASHER

Special

6шт.

11

239105A1

SCREW,Cross Pan Hd, M6 x 20mm

3шт.

12

223935A1

BOX

Operators Manual

1шт.

13

627-6025

BOLT,Hex, M6 x 1 x 25mm, Cl 10.9, Full Thd

2шт.

14

1990503C1

WASHER

Special

6шт.

15

1270742C1

PREV TORQUE BOLT,Cross Rec Pan Hd, M6 x 1 x 12mm

7шт.

16

1276118C1

SELF-TAP SCREW,Cross Pan Hd, #8 x 3/4"

4шт.

17

234124A2

PLATE

Spacer; Throttle

1шт.

18

A177462

MIRROR

Rear View

2шт.

19

346600A1

PAD

Protective

1шт.

20

8602778

FOOTREST

Cab

1шт.

21

895-15008

WASHER,9mm ID x 20mm OD x 1.6mm Thk

3шт.

22

806-8020

BOLT,Hex, M8 x 1.25 x 20mm, Cl 10.9

3шт.

23

87443200

PLATE

Spaces; Operator Manual Box

1шт.

Выбрано товаров: 23