Запчасти Case 721D (03-03) - FUEL TANK FILLER - SENDER (03) - FUEL SYSTEM

Схема запчастей Case 721D - (03-03) - FUEL TANK FILLER - SENDER (03) - FUEL SYSTEM
2
8
9
3b
4b
15
12
13
10
11
19
4a
4c
9a
6
4a
17
6
7
16
11
10
18
11
4b
10
4b
3a
14
4c
1
FIT
1:1
100%

Артикул

Название

Примечание

Количество

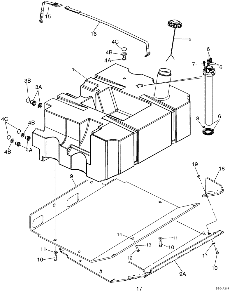
1

8500909

FUEL TANK

Incl. 2 - 4C

1шт.

2

8604443

FILLER CAP

Replaces 405112A1

1шт.

3

8604441

FITTING

O-Ring Seal 3/8 NPTF; Incls. 3A,3B; Replaces 405109A1

1шт.

3a

8604450

FITTING

O-Ring Seal 3/8 NPTF; Nut & Bolt/A; Replaces 405427A1

1шт.

3b

8604446

O-RING

3/8 NPTF Fitting; Replaces 405423A1

1шт.

3

87707148

FITTING

Bolt, 3/8-18 NPT; Replaces 8604441, 87435224

1шт.

3a

282709A1

NUT

1-14 UNS-2B; LH Thread

1шт.

3b

238-5214

O-RING,0.139" Thk x 0.984" ID, -214, Cl 5, 75 Duro

1шт.

4

8604442

FITTING

O-Ring Seal 1/4 NPTF; Incl. 4A-4C; Replaces 405111A1

3шт.

4a

8604447

FITTING

Bolt; Replaces 405424A1

1шт.

4b

8604448

NUT

O-Ring Fitting; Replaces 405425A1

1шт.

4c

8604449

O-RING,0.139" Thk x 0.734" ID, -210, Cl 5, 75 Duro

Seal 1/4 NPTF; Replaces 405426A1

1шт.

4a

87694594

BOLT,3/4" - 16 LH Thread External, 1/4" - 18 NPTF Internal

Bolt; Replaces 8604442, 87435505

1шт.

4b

1251791C1

JAM NUT,3/4" - 16 LH Thread

3/4-16 UNF-2A; LH Thread

1шт.

4c

238-5210

O-RING,0.139" Thk x 0.734" ID, -210, Cl 5, 75 Duro

1шт.

6

328870A1

SENDER UNIT

Fuel Level

1шт.

7

814-5030

BOLT,Hex, M5 x 0.8 x 30mm, Cl 8.8

5шт.

8

895-11005

WASHER,5.5mm ID x 10mm OD x 1mm Thk

5шт.

9

8602250

PLATE

Fuel Tank; If Used

1шт.

9a

87449519

PLATE

Fuel Tank; If Used

1шт.

10

627-12040

BOLT,Hex, M12 x 1.75 x 40mm, Cl 10.9, Full Thd

6-10шт.

11

896-15012

WASHER,13.5mm ID x 28mm OD x 4mm Thk

6-10шт.

12

627-10030

BOLT,Hex, M10 x 1.5 x 30mm, Cl 10.9, Full Thd

2шт.

13

895-18010

WASHER,10.5mm ID x 18mm OD x 1.6mm Thk

2шт.

14

832-10410

NUT,M10 x 1.5, Cl 8

2шт.

15

366905A1

SECURING STRAP

Fuel Tank; Short

2шт.

16

366904A1

SECURING STRAP

Fuel Tank; Long

2шт.

17

87450971

PLATE

Tank, LH

1шт.

18

87450970

PLATE

Tank, RH

1шт.

19

829-1412

NUT,M12, Cl 10.9

4шт.

Выбрано товаров: 30