Запчасти Case 1221E (09-11[01]) - MOUNTING - CAB (87700453) (09) - CHASSIS/ATTACHMENTS

Схема запчастей Case 1221E - (09-11[01]) - MOUNTING - CAB (87700453) (09) - CHASSIS/ATTACHMENTS
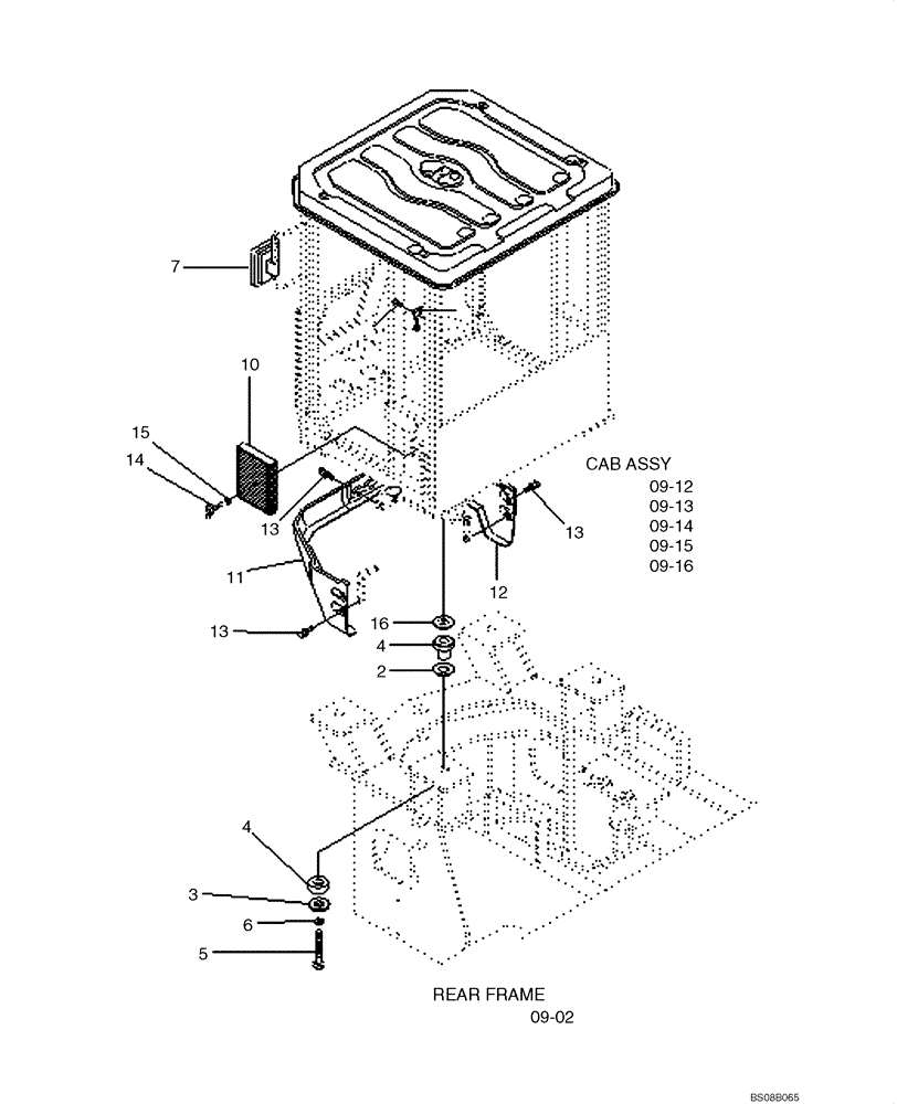
5
09-13
11
12
2
13
09-12
7
16
15
14
09-15
10
6
09-14
4
09-02
13
09-16
13
3
4
FIT
1:1
100%

Артикул

Название

Примечание

Количество

2

74L1-10061CY

SPACER

4шт.

3

71LH-00120CY

WASHER

SNUBBING

4шт.

4

71LB-00230

RUBBER MOUNTING

ISOLATION, CAB

4шт.

5

S018-27165D

BOLT

HEX

4шт.

6

S441-270006

WASHER

HARDENED

4шт.

7

71LB-00310

MIRROR

ASSY, EXT/HEATED

2шт.

8

71E1-60340

HAMMER

Not Illustrated

1шт.

9

S141-040106

SCREW

FLAT HD; Not Illustrated

2шт.

10

71LB-00290

FILTER ASSY

CAB FRESH AIR (ISL Item)

1шт.

11

71LH-00130CY

COVER

FRONT LOWER, LH

1шт.

12

71LH-00140CY

COVER

FRONT LOWER, RH

1шт.

13

627-12025

BOLT,Hex, M12 x 1.75 x 25mm, Cl 10.9, Full Thd

6шт.

13-1

896-11012

WASHER,13.5mm ID x 24mm OD x 3mm Thk

6шт.

14

S091-050156

BOLT

WING

2шт.

15

895-11005

WASHER,5.5mm ID x 10mm OD x 1mm Thk

2шт.

16

71LB-00300CY

SPACER

UP

4шт.

17

72LH-35110

COVER

ROOF, REAR; Not Illustrated

1шт.

18

72LH-35120

COVER

ROOF, LH; Not Illustrated

1шт.

19

72LH-35130

COVER

ROOF, RH; Not Illustrated

1шт.

Выбрано товаров: 19