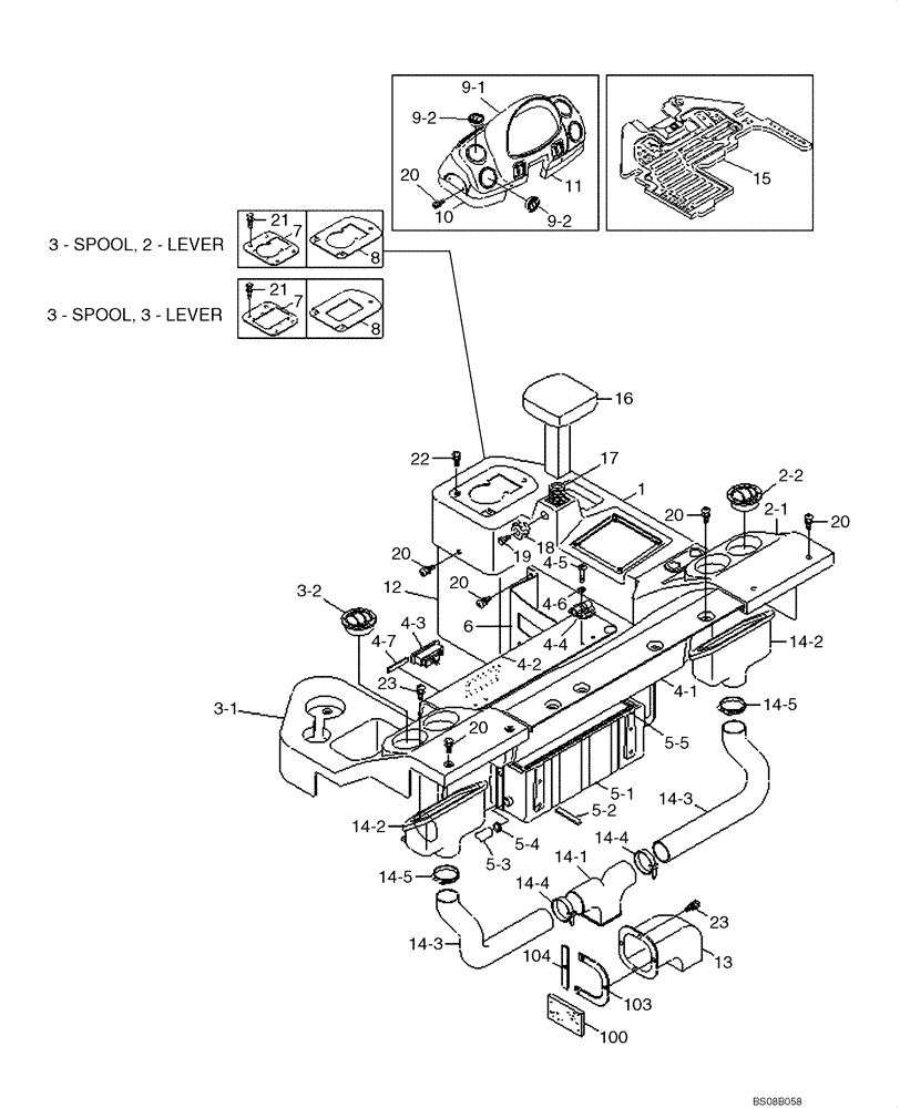
Запчасти Case 1221E (09-18[01]) - CONSOLE BOX (87700455) (09) - CHASSIS/ATTACHMENTS

Схема запчастей Case 1221E - (09-18[01]) - CONSOLE BOX (87700455) (09) - CHASSIS/ATTACHMENTS
15
14-3
14-5
14-3
10
4-4
3-1
6
14-4
14-2
5-1
14-1
20
8
4-2
21
16
4-7
18
14-2
21
11
20
19
9-1
14-4
20
100
4-6
12
20
4-3
8
7
7
2-1
5-2
14-5
13
103
22
4-5
104
5-5
20
4-1
23
2-2
1
20
9-2
17
23
5-3
9-2
5-4
3-2
FIT
1:1
100%

Артикул

Название

Примечание

Количество

1

71LB-20011CW

CONSOLE

BOX, RH, FR

1шт.

2

71LB-20300CW

CONSOLE

BOX ASSY, RH, RR

1шт.

2-1

71LB-20021CW

CONSOLE

BOX,RH, RR

1шт.

2-2

71N6-03300CW

VENT

AIR; Replaces 71N6-03300

2шт.

3

71LB-20310CW

CONSOLE

BOX, ASSY, LH

1шт.

3-1

71LB-20031CW

CONSOLE

BOX, LH

1шт.

3-2

71N6-03300CW

VENT

AIR; Replaces 71N6-03300

2шт.

4

71LB-21022CW

COVER

REAR COVER, ASSY

1шт.

4-1

71LB-21031CW

COVER

REAR COVER, BODY

1шт.

4-2

71LB-21041CW

COVER

DOOR; Replaces 71LB-21041

1шт.

4-3

71LB-21180

LATCH

ASSY

1шт.

4-4

71N6-21900

HINGE

2шт.

4-5

S161-050166

SCREW

RD HD

4шт.

4-6

895-11005

WASHER,5.5mm ID x 10mm OD x 1mm Thk

4шт.

4-7

71LB-21160

PAD

RUBBER

4шт.

5

71LB-21150

BOX

STORAGE ASSY

1шт.

5-1

71LB-21051

BOX

STORAGE

1шт.

5-2

71LB-21170

PAD

RUBBER STORAGE

3шт.

5-3

71N6-20360

HOSE

Storage Box

1шт.

5-4

71N6-20370

CLIP

HOSE

1шт.

5-5

71LB-21190

FOAM

SPONGE

1шт.

6

71LB-20101CW

BOX

BOOK

1шт.

7

71LB-20230

PLATE

RCV/2S/1L (2-SPOOL 1-LEVER)

1шт.

7

71LB-20240

PLATE

RCV/3S/2L (3-SPOOL 2-LEVER)

1шт.

7

71LB-20250

PLATE

RCV/2S/2L (2-SPOOL 2-LEVER)

1шт.

7

71LB-20331

PLATE

RCV/3S/3L (3-SPOOL 3-LEVER); Replaces 71LB-20260

1шт.

8

71LB-20112CW

COVER

J/LEVER/3S/2L (3-SPOOL 2-LEVER); Replaces 71LB-20111CW

1шт.

8

71LB-20200CW

COVER

J/LEVER/2S/1L (2-SPOOL 1-LEVER)

1шт.

8

71LB-20210CW

COVER

J/LEVER/2S/2L (2-SPOOL 2-LEVER)

1шт.

8

71LB-20381CW

COVER

J/LEVER/3S/3L (3-SPOOL 3-LEVER); Replaces 71LB-20220CW, 71LB-20221CW

1шт.

9

71LB-20320CW

DASHBOARD

ASSY

1шт.

9-1

71LB-30021

DASHBOARD

1шт.

9-2

71N6-03300

VENT

AIR

4шт.

10

71LB-20161CW

COVER

DASHBOARD, LH

1шт.

11

71LB-20171CW

COVER

DASHBOARD, RH

1шт.

12

71LB-05051CW

COVER

RCV

1шт.

13

71LB-10111

DUCT

INLET

1шт.

14

71LB-10150

DUCT

ASSY, REAR

1шт.

14-1

71LB-10051

DUCT

REAR 1

1шт.

14-2

71LB-10061

DUCT

REAR 2

2шт.

14-3

71LB-10070

HOSE

REAR

2шт.

14-4

L18331

CABLE TIE,375.9mm L, Nylon, Black

CABLE STRAP

2шт.

14-5

214-1488

HOSE CLAMP,130.05mm - 152.4mm

2шт.

15

71LB-21062CB

MAT

FLOOR/DUAL BRAKE

1шт.

16

71LB-20121

ARMREST

WRIST REST ASST

1шт.

17

71LB-20190

SPRING

1шт.

18

61S1-1037

HANDLE

1шт.

19

827-8035

BOLT,Hex, M8 x 1.25 x 35mm, Cl 10.9

1шт.

20

840-1818

SCREW,Pan, M8 x 18mm, Cl 4.8

51шт.

20

896-11008

WASHER,9mm ID x 17mm OD x 2mm Thk

51шт.

20

892-11008

LOCK WASHER,8mm ID

51шт.

21

627-10025

BOLT,Hex, M10 x 1.5 x 25mm, Cl 10.9, Full Thd

4шт.

21

896-11010

WASHER,11mm ID x 21mm OD x 2.5mm Thk

4шт.

22

S131-051546

CAPTIVE WASHER SCREW

W/WASHER

2шт.

23

S151-030106

SCREW

TAPPING

3шт.

24

71LB-21141

PLATE

J/STRG LEVER

1шт.

100

71LB-04180

FOAM

BOTTOM 5

1шт.

103

71LB-04220

PLATE

DUCT 1

1шт.

104

71LB-04230

PLATE

DUCT 2

1шт.

Выбрано товаров: 59