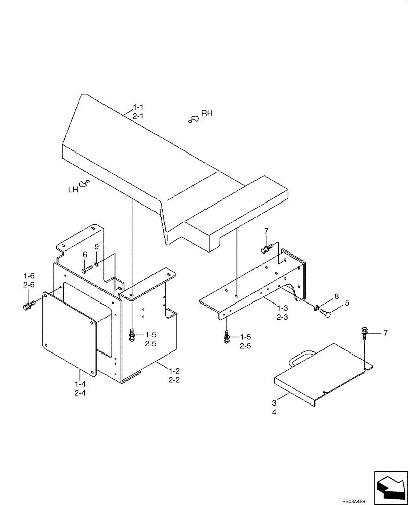
Запчасти Case 1221E (09-28[01]) - PLATFORM (87700460) (09) - CHASSIS/ATTACHMENTS

Схема запчастей Case 1221E - (09-28[01]) - PLATFORM (87700460) (09) - CHASSIS/ATTACHMENTS
1-2
4
3
2-2
2-1
6
2-5
2-6
1-3
5
2-5
2-3
1-6
1-5
7
9
1-1
8
2-4
1-4
1-5
7
FIT
1:1
100%

Артикул

Название

Примечание

Количество

1

72LH-53100

PLATFORM

ASSY, LH

1шт.

1-1

72LH-53110

COVER

WA, LH

1шт.

1-2

71LH-53123CY

SUPPORT

WA, LH

1шт.

1-3

72LH-53130

SUPPORT

WA, LH

1шт.

1-4

71LB-50300CY

COVER

SIDE

1шт.

1-5

627-12030

BOLT,Hex, M12 x 1.75 x 30mm, Cl 10.9, Full Thd

8шт.

1-5

896-11012

WASHER,13.5mm ID x 24mm OD x 3mm Thk

8шт.

1-6

627-12025

BOLT,Hex, M12 x 1.75 x 25mm, Cl 10.9, Full Thd

4шт.

1-6

896-11012

WASHER,13.5mm ID x 24mm OD x 3mm Thk

4шт.

2

72LH-53200

PLATFORM

ASSY, RH

1шт.

2-1

72LH-53210

COVER

WA, RH

1шт.

2-2

71LH-53222CY

SUPPORT

WA, RH; Replaces 71LH-53221CY

1шт.

2-3

72LH-53230

SUPPORT

WA, RH

1шт.

2-4

71LB-50300CY

COVER

SIDE

1шт.

2-5

627-12030

BOLT,Hex, M12 x 1.75 x 30mm, Cl 10.9, Full Thd

8шт.

2-5

896-11012

WASHER,13.5mm ID x 24mm OD x 3mm Thk

8шт.

2-7

627-12025

BOLT,Hex, M12 x 1.75 x 25mm, Cl 10.9, Full Thd

4шт.

2-7

896-11012

WASHER,13.5mm ID x 24mm OD x 3mm Thk

4шт.

2-9

71LH-50030CY

COVER

LH

1шт.

4

71LH-50040CY

COVER

WA, RH

1шт.

5

71EH-13150

SILENTBLOC

RUBBER

2шт.

6

86508623

BOLT,Hex, M16 x 30mm, Cl 10.9

12шт.

7

627-12025

BOLT,Hex, M12 x 1.75 x 25mm, Cl 10.9, Full Thd

12шт.

7

896-11012

WASHER,13.5mm ID x 24mm OD x 3mm Thk

12шт.

8

829-1410

NUT,M10 x 1.5, Cl 10.9

2шт.

9

896-11016

WASHER,17.5mm ID x 30mm OD x 4mm Thk

12шт.

Выбрано товаров: 26