Качественные детали и логистика
Оригинальные и аналоговые запчасти с доставкой по России, Казахстану и Беларуси
©2022 PartSell ООО "Система" ИНН 2463123282 ОГРН 1212400004838
Центральный офис: г. Красноярск, Академика Киренского, д.87, пом.4
Телефон: 8 (800) 777-65-74 Email: zakaz@partsell.ru
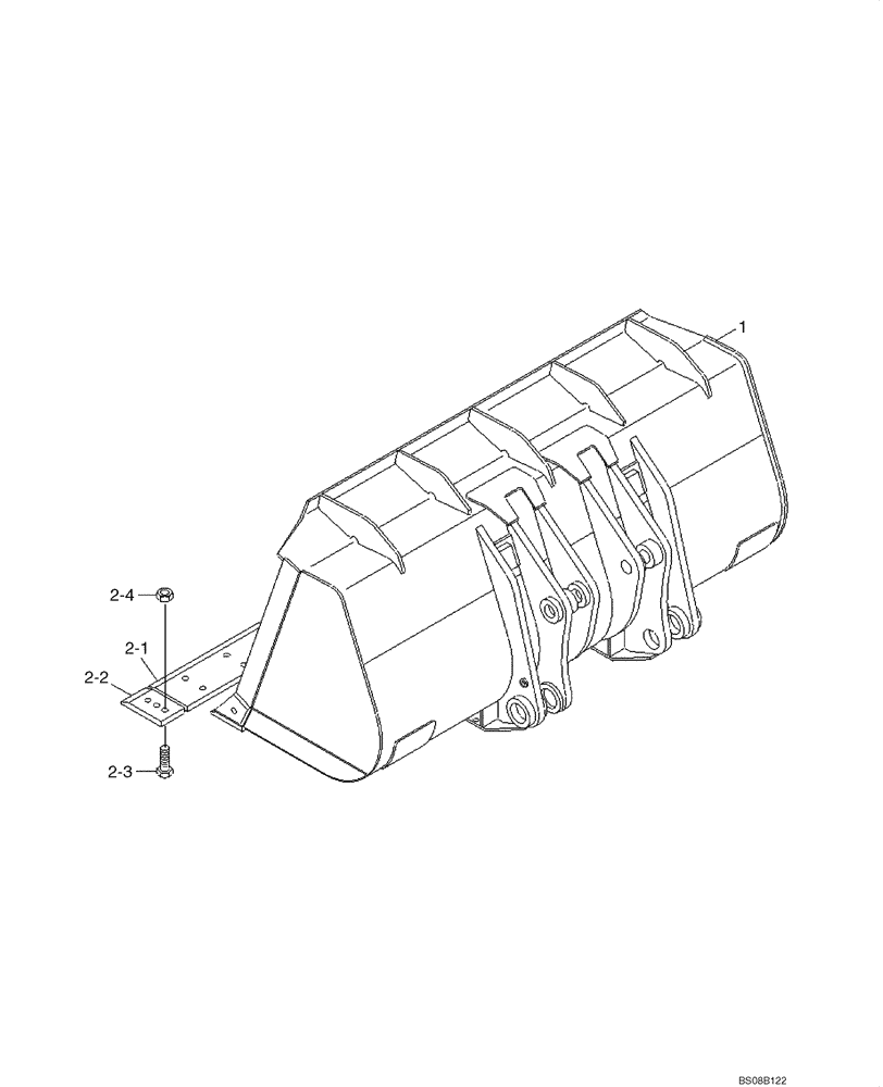
(09-32[01]) - LOADER BUCKET (5.1 CU M/ 6.7 CU YD W/CUTTING BLADE) (87745526)
№
Артикул
Название
Примечание
Количество
87745526
BUCKET
ASSY, Incl. Refs. 1 - 2-4
1шт.
1
NSS
NOT SOLD SEPARAT
BUCKET WA
2
61L6-10910CY
SERVICE KIT
KIT
2-1
61L6-00302CY
CUTTING EDGE
CENTER
2шт.
2-2
61L6-00311CY
SIDE
2-3
61L6-00850
BOLT
TOOTH
16шт.
2-4
S206-36100B
NUT
HEX
Выбрано товаров: 0