Запчасти Case 1221E (03-01[01]) - FUEL TANK / LINES (87700386) (03) - FUEL SYSTEM

Схема запчастей Case 1221E - (03-01[01]) - FUEL TANK / LINES (87700386) (03) - FUEL SYSTEM
8
10
1-6
2
1-9
6
12
3
1-13
16
13
4
1-6
1-5
1-3
1-11
15
1-5
1-1-1
1-8
1-2
1-4
17
9
1-14
1-1
1-10
11
1-7
5
14
7
1-12
FIT
1:1
100%

Артикул

Название

Примечание

Количество

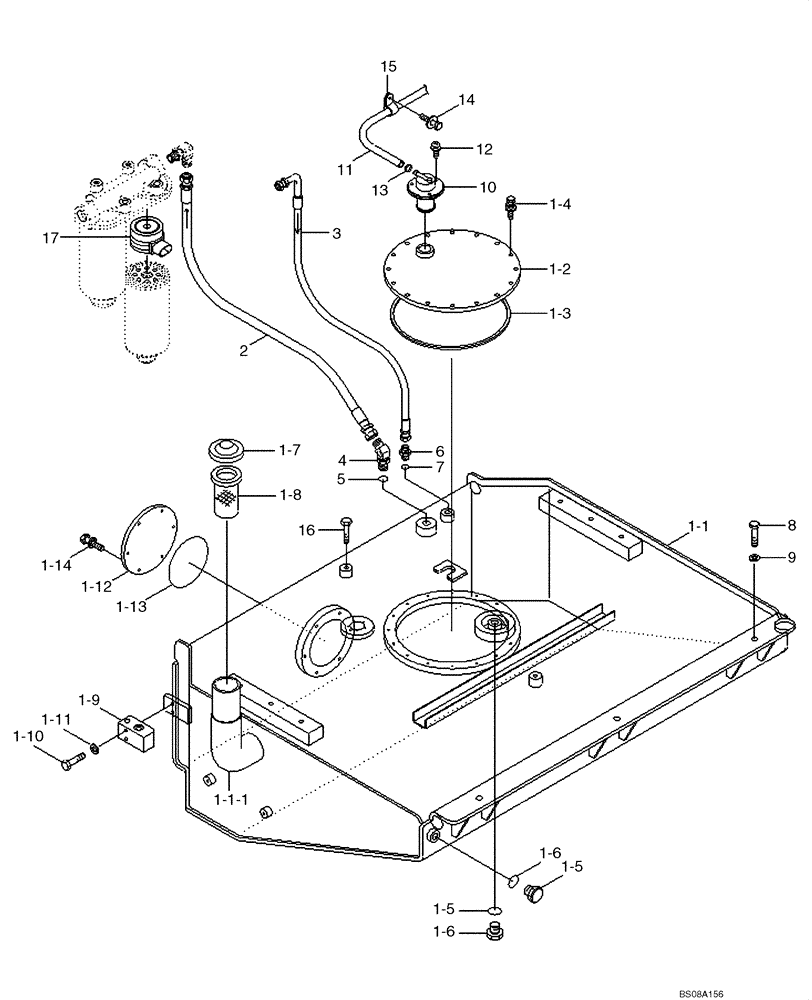
1

11LH-20200

FUEL TANK

ASSY (11LH-20200)

1шт.

1-1

11LH-20210

FUEL TANK

WA

1шт.

1-1-1

11LD-20180

FILLER

WA

1шт.

1-2

11LB-2004CY

COVER

WA

1шт.

1-3

14L1-02180

RUBBER SEAL

RUBBER

1шт.

1-4

627-8020

BOLT,Hex, M8 x 1.25 x 20mm, Cl 10.9, Full Thd

16шт.

1-4-1

896-11008

WASHER,9mm ID x 17mm OD x 2mm Thk

16шт.

1-4-2

892-11008

LOCK WASHER,8mm ID

16шт.

1-5

P220-110104

PLUG

HEX

2шт.

1-6

S631-018001

O-RING

2шт.

1-7

84174937

CAP

FUEL CAP ASSY; Replaces 87742540

1шт.

1-8

31E1-10300

STRAINER ELEMENT

1шт.

1-9

11LB-20232

BLOCK

DRAIN

1шт.

1-10

86624979

BOLT,Hex, M10 x 75mm, Cl 10.9

2шт.

1-11

896-11010

WASHER,11mm ID x 21mm OD x 2.5mm Thk

2шт.

1-12

31E3-4526CY

COVER

1шт.

1-13

S632-165001

O-RING

1шт.

1-14

627-10025

BOLT,Hex, M10 x 1.5 x 25mm, Cl 10.9, Full Thd

6шт.

1-14

896-11010

WASHER,11mm ID x 21mm OD x 2.5mm Thk

6шт.

2

11L6-20120

HOSE

SUCTION; Fuel Tank To Fuel Filter

1шт.

3

11LH-20160

HOSE

ASSY, RETURN

1шт.

4

P030-110003

ELBOW

45

1шт.

5

S631-018001

O-RING

1шт.

6

P020-110002

ELBOW

90

1шт.

7

S631-014001

O-RING

1шт.

8

827-16060

BOLT,Hex, M16 x 2 x 60mm, Cl 10.9

9шт.

9

896-11016

WASHER,17.5mm ID x 30mm OD x 4mm Thk

9шт.

10

11FA-50300

VALVE

FUEL CUT OFF

1шт.

11

11S4-00561

FUEL HOSE

1шт.

12

S131-051546

CAPTIVE WASHER SCREW

W/WASHER

3шт.

13

S571-140002

CLAMP

HOSE, WIRE TYPE

1шт.

14

S037-121556

BOLT

W/WASHER

1шт.

15

31L7-10190

CLAMP,15mm ID

1шт.

16

S017-16020D

BOLT

HEX

2шт.

17

11NA-70410

HEATER

FUEL WARMER KIT

1шт.

Выбрано товаров: 35