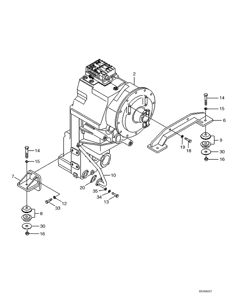
Запчасти Case 1221E (06-01[01]) - MOUNTING - TRANSMISSION (87700418) (06) - POWER TRAIN

Схема запчастей Case 1221E - (06-01[01]) - MOUNTING - TRANSMISSION (87700418) (06) - POWER TRAIN
35
10
30
16
13
2
9
16
7
6
20
12
14
33
34
18
30
19
8
15
15
14
FIT
1:1
100%

Артикул

Название

Примечание

Количество

2

11LH-01100

TRANSMISSION

T/M AND T/C ASSY, Includes Parts On Figures 06-02 - 06-24

1шт.

11LH-01100R

REMAN-TRANSMISSION

1221E TIER 3 (3/08-)

1шт.

11LH-01100C

CORE-TRANSMISSION

Return Number

1шт.

6

11L6-02211

BRACKET

WA

1шт.

7

11L6-02450

BRACKET

WA

2шт.

8

11N6-13065

ISOLATOR

RESILENT

4шт.

9

11N6-13045

RUBBER INSULATOR

MOUNT

4шт.

10

11L6-02540CY

PIPE

WA; Replaces 11L6-02540

1шт.

12

896-11020

WASHER,22mm ID x 37mm OD x 4mm Thk

8шт.

13

627-8030

BOLT,Hex, M8 x 1.25 x 30mm, Cl 10.9, Full Thd

2шт.

14

S017-241852

BOLT

4шт.

15

896-11024

WASHER,26mm ID x 44mm OD x 5mm Thk

4шт.

16

829-1424

NUT,M24, Cl 10

4шт.

18

827-16060

BOLT,Hex, M16 x 2 x 60mm, Cl 10.9

4шт.

19

896-11016

WASHER,17.5mm ID x 30mm OD x 4mm Thk

4шт.

20

87745510

GASKET

1шт.

30

11N8-00060

WASHER

4шт.

33

11124831

BOLT,Hex, M20 x 55, 10.9, Full Thd

8шт.

34

895-11008

WASHER,9mm ID x 16mm OD x 1.6mm Thk

2шт.

35

892-11008

LOCK WASHER,8mm ID

2шт.

Выбрано товаров: 20