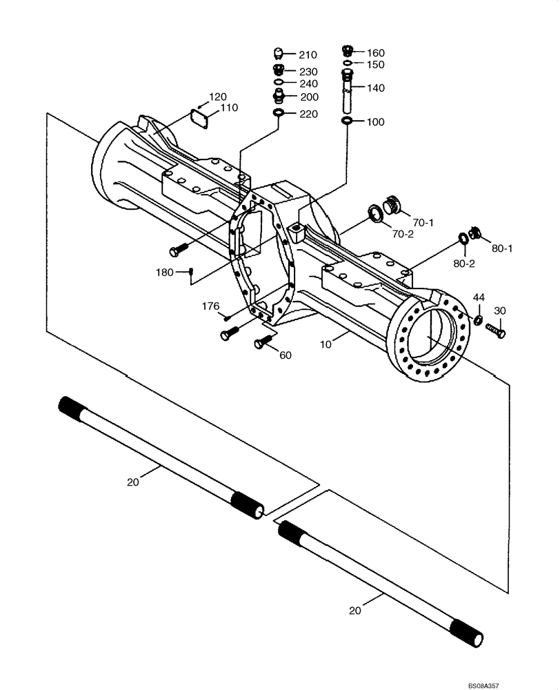
Запчасти Case 1221E (06-29[01]) - AXLE - FRONT / REAR - HOUSING (87700464) (4) (06) - POWER TRAIN

Схема запчастей Case 1221E - (06-29[01]) - AXLE - FRONT / REAR - HOUSING (87700464) (4) (06) - POWER TRAIN
110
150
230
240
200
70-2
20
44
120
180
100
176
70-1
60
220
160
80-1
10
140
20
210
80-2
30
FIT
1:1
100%

Артикул

Название

Примечание

Количество

ZGAQ-00072

CASING

AXLE; Not Illustrated

1шт.

10

ZGAQ-01727

CASING

1шт.

20

ZGAQ-00074

SHAFT

STUD

2шт.

ZGAQ-01646

CASING

AXLE; Not Illustrated

1шт.

30

ZGAQ-00076

SCREW

HEX

36шт.

44

718340

WASHER

WASHER

36шт.

60

ZGAQ-01728

LOCK BOLT

LOCKING

18шт.

70-1

744224

SCREW

PLUG, SCREW

1шт.

70-2

8603207

O-RING,2.5mm Thk x 38mm ID

PLUG

1шт.

70-2

87454993

O-RING

1шт.

80-1

119349A1

PLUG

AXLE HOUSING

1шт.

80-2

8603184

GASKET

1шт.

110

8963100162

DATA PLAQUE

1шт.

120

75285934

RIVET

4шт.

140

ZGAQ-01102

TUBE

SUCTION

1шт.

150

100080A1

O-RING,2mm Thk x 19mm ID, 70 Duro

19 x 2, 70 DURO

1шт.

160

A3282169

PLUG

SCREW

1шт.

176

ZGAQ-00090

SCREW

SCREW, CAP

2шт.

180

ZGAQ-00091

SCREW

OVAL HEAD

3шт.

200

8603256

PLUG

AXLE HOUSING

1шт.

210

E1NN3N257AA

BREATHER

VENT

1шт.

220

100113A1

PLUG

SCREW M10 x 1

1шт.

230

ZGAQ-01614

PLUG

SCREW

1шт.

240

ZGAQ-01615

RING

SEALING

1шт.

Выбрано товаров: 24