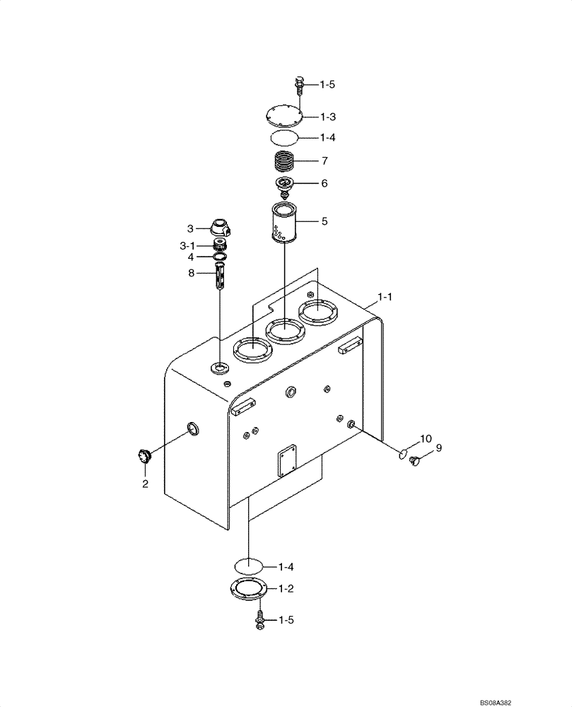
Запчасти Case 1221E (08-01[01]) - HYDRAULICS - RESERVOIR ASSY (87700440) (08) - HYDRAULICS

Схема запчастей Case 1221E - (08-01[01]) - HYDRAULICS - RESERVOIR ASSY (87700440) (08) - HYDRAULICS
5
1-2
1-1
9
6
10
7
1-4
1-5
4
3
3-1
1-4
2
8
1-3
1-5
FIT
1:1
100%

Артикул

Название

Примечание

Количество

31LH-60013CY

TANK

HYDRAULIC TANK ASSY

1шт.

1-1

31LH-60022CY

TANK

HYDRAULIC WA

1шт.

1-2

31LB-60050

COVER

WA

1шт.

1-3

31E3-4526

COVER

4шт.

1-4

S632-165001

O-RING

5шт.

1-5

627-10025

BOLT,Hex, M10 x 1.5 x 25mm, Cl 10.9, Full Thd

30шт.

1-5-1

896-11010

WASHER,11mm ID x 21mm OD x 2.5mm Thk

30шт.

2

31M6-52140

SIGHTGLASS

1шт.

3

31EH-00040

BREATHER

AIR, Can be unlocked with any small thin piece of metal or Case key 1964831C2

1шт.

3-1

31EH-00480

ELEMENT

1шт.

4

S602-065004

RING

RETAINING

1шт.

5

31L1-4041

ELEMENT

, Serial Range: N8UE10101-N8UE10162

3шт.

5

31LD-60071

HYDRAULIC OIL FILTER

Filter Assembly, Start Serial: N8UE10163

2шт.

6

E131-0256

VALVE

BYPASS

3шт.

7

E131-0220

SPRING

3шт.

8

31EH-00090

STRAINER ELEMENT

HYD TANK SUCTION (ISL Item)

1шт.

9

P220-110105

PLUG

HEX

1шт.

10

S631-024004

O-RING

O-RING PF3/4

1шт.

Выбрано товаров: 18