Запчасти Case 1221E (08-09[01]) - HYDRAULICS - BOOM CYLINDER (87700445) (08) - HYDRAULICS

Схема запчастей Case 1221E - (08-09[01]) - HYDRAULICS - BOOM CYLINDER (87700445) (08) - HYDRAULICS
2
29
4
5
13
12
15
26
1
22
24
17
23
23
8
16
19
14
20
29
18
25
10
6
7
14
9
27
28
3
24
11
21
FIT
1:1
100%

Артикул

Название

Примечание

Количество

31LH-20010CY

HYDRAULIC CYLINDER

LH

1шт.

31LH-20010CYR

REMAN-HYD CYLINDER

LH

1шт.

31LH-20010CYC

CORE-HYD CYLINDER

Return Number

1шт.

31LH-20020CY

HYDRAULIC CYLINDER

RH

1шт.

31LH-20020CYR

REMAN-HYD CYLINDER

RH

1шт.

31LH-20020CYC

CORE-HYD CYLINDER

Return Number

1шт.

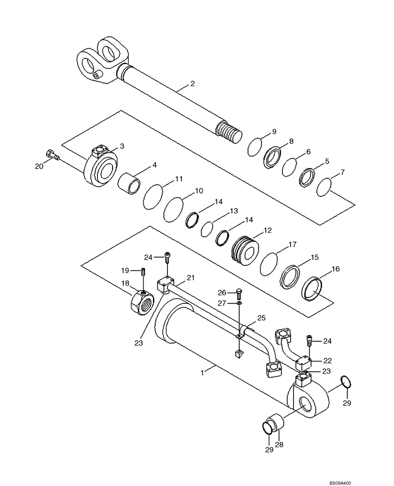
1

31Y2-03042CY

TUBE

ASSY

1шт.

2

31Y2-03091CY

ROD

ASSY

1шт.

3

31Y2-03121CY

GLAND

1шт.

4

S731-110050

BUSHING

BUSHING DU

1шт.

5

Y220-110011

SEAL

ROD; Refer To Service Kit No.

1шт.

6

Y180-110020

BACK-UP RING

Refer To Service Kit No.

1шт.

7

Y240-110011

RING

BUFFER; Refer To Service Kit No.

1шт.

8

Y110-110011

WIPER

DUST; Refer To Service Kit No.

1шт.

9

Y190-126000

RING

SNAP

1шт.

10

S632-190004

O-RING

Refer To Service Kit No.

1шт.

11

S642-190003

BACK-UP RING

Refer To Service Kit No.

1шт.

12

31Y2-03131

PISTON

1шт.

13

S632-110004

O-RING

Refer To Service Kit No.

1шт.

14

S642-110003

BACK-UP RING

Refer To Service Kit No.

2шт.

15

Y410-200000

SEAL

PISTON; Refer To Service Kit No.

1шт.

16

Y300-200100

RING

WEAR; Refer To Service Kit No.

1шт.

17

Y440-200000

RING

DUST; Refer To Service Kit No.

1шт.

18

31YC-62200

LOCK NUT

LOCK

1шт.

19

878-10512

HEX SOC SCREW,Set, M5 x 12mm, Cup Pt

SCREW

1шт.

20

863-20070

HEX SOC SCREW,M20 x 70mm, 12.9

13шт.

21

31Y2-03141CY

PIPE

ASSY, R/LH

1шт.

21

31Y2-03151CY

PIPE

ASSY, R/RH

1шт.

22

31Y2-03160CY

WHISTLE

ASSY, B/LH

1шт.

22

31Y2-03170CY

PIPE

ASSY, B/RH

1шт.

23

Y171-027004

O-RING

Refer To Service Kit No.

2шт.

24

S107-120604

BOLT

SOCKET

8шт.

25

31YC-38040

CLAMP

PIPE

1шт.

26

S011-100152

BOLT

HEX

2шт.

27

892-11010

LOCK WASHER,M10

2шт.

28

31YC-13140

BUSHING

PIN

1шт.

29

Y000-120100

SEAL

DUST; Refer To Service Kit No.

2шт.

31Y2-03180

SEAL KIT

BOOM CYLINDER; Include(s) 5, 6, 7, 8, 10, 11, 13, 14, 15, 16, 17, 23, 29

1шт.

Выбрано товаров: 38