Запчасти Case 521E (02-02) - RADIATOR - HOSES AND TUBES (02) - ENGINE

Схема запчастей Case 521E - (02-02) - RADIATOR - HOSES AND TUBES (02) - ENGINE
23
1b
40
34
2
4
27
10
14
8
31
6
42
17
19
19
43
1c
28a
7
38
1a
8
32
30
13
15
36
21
1e
22
27a
2
35
26
7
29
27
9
31
18
8
5
31
30
37
6
8
11
25
39
26a
33
7
10
29
5
40
1
1f
31
41
24
8
40
20
35
35
29
12
21
28
16
3
10
20
2
FIT
1:1
100%

Артикул

Название

Примечание

Количество

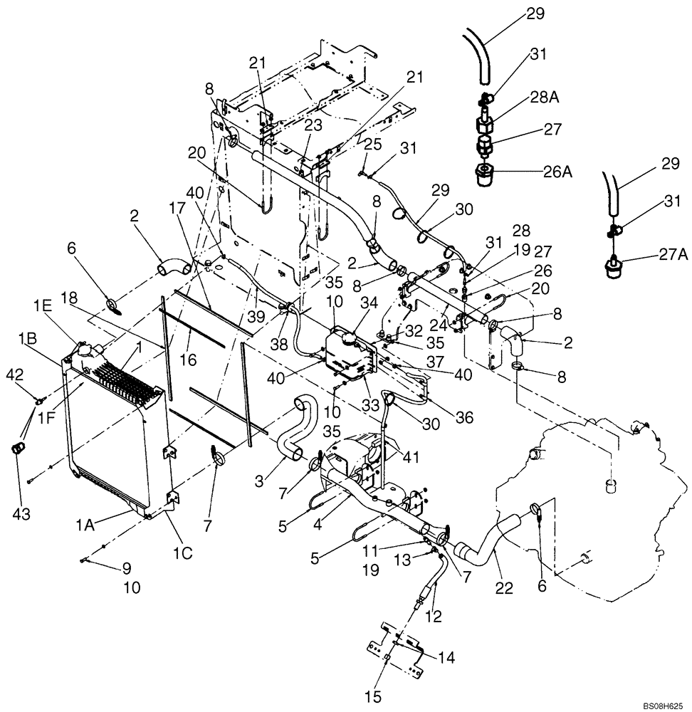
347611A3

RADIATOR

Incl. Refs. 1 - 1E; See Figure 04-10 For Coolant Level Sender

1шт.

1

403767A1

TANK

Upper

1шт.

1a

403768A1

TANK

Bottom

1шт.

1b

403769A1

CHANNEL

Left Side

1шт.

1c

403770A1

HOLDER

Right Side

1шт.

1d

254409A1

GASKET,3.15mm Thk

Not Illustrated

1шт.

1e

A170241

RADIATOR CAP

15 psi

1шт.

1f

NSS

NOT SOLD SEPARAT

Radiator Body

1шт.

2

76082693

HOSE

Elbow

3шт.

3

76082644

HOSE,57.20 mm ID x 218.00 mm, SAE 20R4 OR SAE J20 R4 CLASS D-1

1шт.

4

87669773

PIPE

Coolant

1шт.

5

393632A1

CLAMP

U-Bolt

2шт.

6

254026A1

HOSE CLAMP,44.45mm - 66.67mm

2шт.

7

L115548

CLAMP,57.15mm - 79.38mm

3шт.

8

214-1432

HOSE CLAMP,#32, 1.56" - 2.5", Type F Worm

Replaces 214-1436 Hose Clamps Used On Some Models

5шт.

9

892-11008

LOCK WASHER,8mm ID

6шт.

10

627-8025

BOLT,Hex, M8 x 1.25 x 25mm, Cl 10.9, Full Thd

11шт.

11

217-152

FITTING,1/2" Hose Barb x 3/8" Male NPTF

1шт.

12

87652505

HOSE ASSY.

Remote Coolant Drain, 374 mm (14 - 23/32)

1шт.

13

214-1410

HOSE CLAMP,#10, 0.56" - 1.06", Type F Worm

1шт.

14

218-1255

BHD LOCK NUT,Blkhd, 3/4"-16

1шт.

15

218-755

CAP,37 Degree, 3/4"-16

1шт.

16

381963A1

SEAL

Radiator Tank

2шт.

17

381962A1

SEAL

Radiator Header

2шт.

18

381938A1

SEAL

Radiator Side

2шт.

19

345-87

SEALANT

592

1шт.

20

382189A1

CLAMP

U-Bolt

4шт.

21

382188A2

PLATE

Coolant

2шт.

22

86991195

HOSE,48.00 mm ID, 57.20 mm ID x 254.00 mm, SAE J20R4 Class D1

Engine Coolant, Bottom

1шт.

23

87615063

HYD TUBE,41.2 mm ID x 44.5 mm OD x 684, 220 mm L

Top Coolant

1шт.

24

87617019

HYD TUBE,41.2 mm ID x 44.5 mm OD x 513 mm L

Engine Coolant Top

1шт.

25

217-292

FITTING,90 Degree Elbow, 1/4" Hose Barb x 1/8" Male NPTF

1шт.

26

217-1035

REDUCER FITTING,1/2" - 14 Male NPTF x 3/8" - 18 Female NPTF

If Used

1шт.

26a

87752091

BUSHING

Reducer, 1/2" Male NPTF x 3/8" Female NPTF; If Used

1шт.

27

J911901

VALVE, CHECK

If Used; Used With Fittings and Reducer

1шт.

27a

87635840

VALVE

CHECK, Venting; Used In Setup Without Fitting and Reducer

1шт.

29

87617021

HOSE ASSY.

Breather, 752 mm (29 - 19/32)

1шт.

28

217-191

FITTING,1/4" Hose Barb x 1/8" Female NPTF

If Used

1шт.

30

L11541

CABLE TIE,203.2mm L, Nylon

CABLE STRAP

4шт.

28a

87752081

FITTING

1/4" Hose x 1/8" Female NPTF; If Used

1шт.

31

214-1704

HOSE CLAMP,#04, 0.25" - 0.62", Type M Worm

2шт.

32

87585139

BASE PLATE

Coolant Recovery Bottle

1шт.

33

A184395

RESERVOIR

Coolant Recovery; Does Not Include Cap, Order Separately

1шт.

34

1547924C1

CAP

Coolant Recovery Bottle

1шт.

35

895-15008

WASHER,9mm ID x 20mm OD x 1.6mm Thk

8шт.

36

515-23143

CLAMP,9/16", Insul, 3/8" Bolt

3шт.

37

832-10408

NUT,M8 x 1.25, Cl 8.8

3шт.

38

198824C1

GROMMET,12.7mm ID x 41.1mm OD x 26.9mm Thk

1шт.

39

87619894

HOSE ASSY.

Coolant Recovery Bottle, 911 mm (35 - 7/8 in)

1шт.

40

A171099

HOSE CLAMP,13.2mm - 15.4mm

3шт.

41

87619895

HOSE,7.90mm ID x 390.00mm L

Coolant Bottle Overflow

1шт.

42

419792A2

SENSOR

Coolant Level, If Used

1шт.

43

217-402

PLUG,Hex Hd, 1/8" - 27 NPT

If Used

1шт.

Выбрано товаров: 53