Запчасти Case 521E (02-05) - FAN DRIVE (02) - ENGINE

Схема запчастей Case 521E - (02-05) - FAN DRIVE (02) - ENGINE
10
16
12
19a
13
14
4
08-01
21a
17a
20a
20b
14
1a
18
17b
20
7
3
18a
10
6
5
19
21b
9
1
18b
15
21
2
17
8
4
11
9
19b
FIT
1:1
100%

Артикул

Название

Примечание

Количество

REF

INSTRUCTION

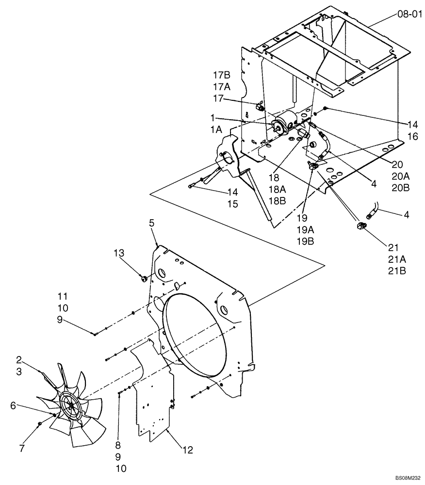
FAN DRIVE MOUNTING, FOR HYDRAULICS AND FAN VALVES SEE FIGURES 08-22 - 08-24A

1шт.

1

87426773

HYDRAULIC MOTOR,GEAR, 14 CC

Reversible Fan Drive, Incl. Ref. 1A

1шт.

1

87426773R

REMAN-HYD MOTOR

521E TIER 3 (1/08-)

1шт.

1

87426773C

CORE-MOTOR HYDRAULIC

Return number

1шт.

1a

87426795

SEAL KIT

Fan

1шт.

87700024

FAN,8 Blades, 711.2mm OD

Assy, Replaces 371887A1; Incl. Refs. 2, 3

1шт.

2

8604699

FAN

1шт.

3

87700023

HUB

Fan; Replaces 8604700

1шт.

4

87427292

HOSE ASSY.,6.35mm ID x 260mm L, SAE 100R17

Fan Motor Drain, 260 mm (10 - 1/4 in)

1шт.

5

87668585

SHROUD

Fan

1шт.

6

496-21053

WASHER,17/32" x 1 1/16" x .134"

1шт.

7

232-2448

NUT,1/2"-20, GC

1шт.

8

895-15008

WASHER,9mm ID x 20mm OD x 1.6mm Thk

4шт.

9

892-11008

LOCK WASHER,8mm ID

9шт.

10

627-8030

BOLT,Hex, M8 x 1.25 x 30mm, Cl 10.9, Full Thd

9шт.

11

895-25008

WASHER,9mm ID x 24mm OD x 2mm Thk

5шт.

12

87706266

GUARD

Fan

1шт.

13

198824C1

GROMMET,12.7mm ID x 41.1mm OD x 26.9mm Thk

1шт.

14

895-11010

WASHER,11mm ID x 20mm OD x 2mm Thk

4шт.

15

627-10035

BOLT,Hex, M10 x 1.5 x 35mm, Cl 10.9, Full Thd

2шт.

16

832-10410

NUT,M10 x 1.5, Cl 8

2шт.

17

700-326

ELBOW,90 Degree Elbow, 13/16" - 16 Male ORFS x M22 x 1.5 Male ORB

Incl. Refs. 17A, 17B

1шт.

17a

238-6014

O-RING,0.07" Thk x 0.489" ID, -14, Cl 6, 90 Duro

Face Seal

1шт.

17b

637-63193

O-RING,2.2mm Thk x 19.3mm ID, Cl 6, 90 Duro

Boss Seal

1шт.

18

700-387

ELBOW,45 Degree Elbow, 1-3/16" - 12 Male ORFS x M27 x 2 Male ORB

Incl. Refs. 18A, 18B

1шт.

18a

238-6018

O-RING,0.07" Thk x 0.739" ID, -18, Cl 6, 90 Duro

Face Seal

1шт.

18b

637-64236

O-RING,2.9mm Thk x 23.6mm ID, Cl 6, 90 Duro

Boss Seal

1шт.

19

372028A2

ELBOW

90°, Incl. Refs. 19A, 19B; If Used

1шт.

19a

637-63193

O-RING,2.2mm Thk x 19.3mm ID, Cl 6, 90 Duro

Boss Seal

1шт.

19b

238-6012

O-RING,0.07" Thk x 0.364" ID, -12, Cl 6, 90 Duro

Face Seal

1шт.

20

700-378

ELBOW,90 Degree Elbow, 9/16" - 18 Male ORFS x M14 x 1.5 Male ORB

Incl. Refs. 20A, 20B

1шт.

20a

637-63113

O-RING,2.2mm Thk x 11.3mm ID, Cl 6

Boss Seal

1шт.

20b

238-6011

O-RING,0.07" Thk x 0.301" ID, -11, Cl 6, 90 Duro

Face Seal

1шт.

21

700-304

ELBOW,90 Degree Elbow, 11/16" - 16 Male ORFS x M14 x 1.5 Male ORB

Incl. Refs. 21A, 21B; If Used

1шт.

21a

238-6012

O-RING,0.07" Thk x 0.364" ID, -12, Cl 6, 90 Duro

Face Seal End

1шт.

21b

637-63113

O-RING,2.2mm Thk x 11.3mm ID, Cl 6

1шт.

Выбрано товаров: 0