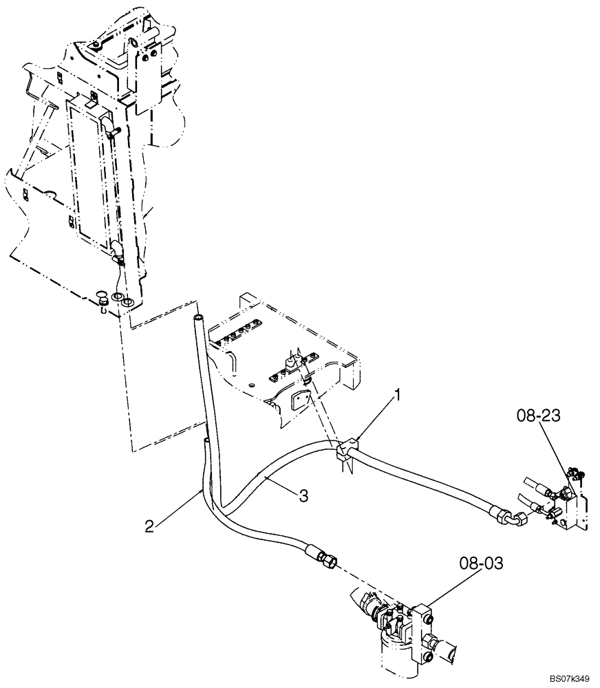
Запчасти Case 521E (08-19A) - HYDRAULICS - COOLER, WITHOUT BYPASS (08) - HYDRAULICS

Схема запчастей Case 521E - (08-19A) - HYDRAULICS - COOLER, WITHOUT BYPASS (08) - HYDRAULICS
2
3
1
08-23
08-03
FIT
1:1
100%

Артикул

Название

Примечание

Количество

REF

INSTRUCTION

FAN VALVE TO COOLER AND COOLER RETURN HOSES, WITHOUT BYPASS

1шт.

1

372453A1

BLOCK

1шт.

2

367872A1

HOSE ASSY.

Cooler Return; 941 mm (37 in); If Used

1шт.

2

87476355

HOSE ASSY.,Hyd, 5/8" ID x 840mm L

Cooler Return; 840 mm (33 - 1/16 in); If Used

1шт.

3

87703590

HOSE ASSY.

Fan Valve to Cooler; 2206 mm (86 - 27/32 in)

1шт.

Выбрано товаров: 0