Запчасти Case 521E (08-22) - HYDRAULICS - FAN DRIVE (08) - HYDRAULICS

Схема запчастей Case 521E - (08-22) - HYDRAULICS - FAN DRIVE (08) - HYDRAULICS
13
16b
11
2
6a
16a
7a
13
17b
14
17a
8
16
7
9
15
10
12
3
4
2
6b
6
7b
5
08-23
02-05
1
17
FIT
1:1
100%

Артикул

Название

Примечание

Количество

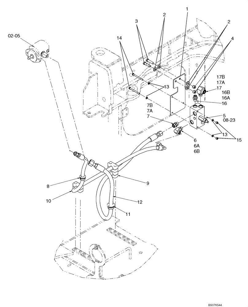
1

87724971

BRACKET

Fan Relief Valve Mounting

1шт.

2

896-15012

WASHER,13.5mm ID x 28mm OD x 4mm Thk

4шт.

3

827-12050

BOLT,Hex, M12 x 1.75 x 50mm, Cl 10.9

2шт.

4

832-10412

NUT,M12 x 1.75, Cl 8

2шт.

5

429361A2

VALVE, PRESSURE RELI

EF Fan Relief, See Figure 08-23

1шт.

6

700-326

ELBOW,90 Degree Elbow, 13/16" - 16 Male ORFS x M22 x 1.5 Male ORB

Incl. Refs. 6A, 6B

1шт.

6a

238-6014

O-RING,0.07" Thk x 0.489" ID, -14, Cl 6, 90 Duro

Face Seal

1шт.

6b

637-63193

O-RING,2.2mm Thk x 19.3mm ID, Cl 6, 90 Duro

Boss Seal

1шт.

7

700-103

HYD CONNECTOR,1" - 14 Male ORFS x M22 x 1.5 Male ORB

Incl. Refs. 7A, 7B

1шт.

7a

637-63193

O-RING,2.2mm Thk x 19.3mm ID, Cl 6, 90 Duro

Boss Seal

1шт.

7b

238-6016

O-RING,0.07" Thk x 0.614" ID, -16, Cl 6, 90 Duro

Face Seal

1шт.

8

198827C1

GROMMET,22.22mm ID x 41.1mm OD x 26.9mm Thk

1шт.

9

372453A1

BLOCK

3шт.

10

87704887

HOSE ASSY.

Fan Drive, 1689 mm (66 - 1/2 in)

1шт.

11

435214A1

GROMMET

1 x 1.75

1шт.

12

376179A2

HOSE ASSY.

Fan Drive, 1935 mm (76 - 3/16 in)

1шт.

13

895-11008

WASHER,9mm ID x 16mm OD x 1.6mm Thk

4шт.

14

827-8090

BOLT,Hex, M8 x 1.25 x 90mm, Cl 10.9

2шт.

15

832-10408

NUT,M8 x 1.25, Cl 8.8

2шт.

16

700-162

HYD CONNECTOR,13/16" - 16 Male ORFS x M22 x 1.5 Male ORB

Incl. Refs. 16A, 16B

1шт.

16a

637-63193

O-RING,2.2mm Thk x 19.3mm ID, Cl 6, 90 Duro

Boss Seal

1шт.

16b

238-6014

O-RING,0.07" Thk x 0.489" ID, -14, Cl 6, 90 Duro

Face Seal

1шт.

17

700-350

ELBOW,90 Degree Elbow, 1-3/16" - 12 Male ORFS x M22 x 1.5 Male ORB

Incl. Refs. 17A, 17B

1шт.

17a

637-63193

O-RING,2.2mm Thk x 19.3mm ID, Cl 6, 90 Duro

Boss Seal

1шт.

17b

238-6018

O-RING,0.07" Thk x 0.739" ID, -18, Cl 6, 90 Duro

Face Seal

1шт.

Выбрано товаров: 0