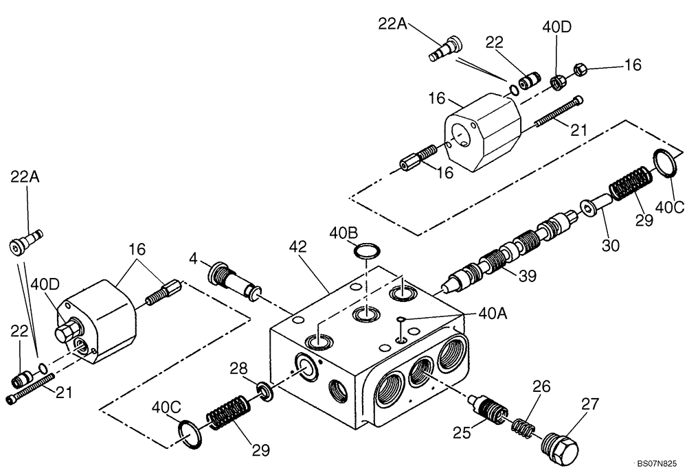
Запчасти Case 521E (08-28B) - VALVE ASSY - LOADER CONTROL - VALVE SECTION - (XT) (08) - HYDRAULICS

Схема запчастей Case 521E - (08-28B) - VALVE ASSY - LOADER CONTROL - VALVE SECTION - (XT) (08) - HYDRAULICS
22a
22a
40b
16
21
25
22
40a
16
21
22
29
26
16
40c
4
40c
39
27
16
40d
28
42
40d
30
29
FIT
1:1
100%

Артикул

Название

Примечание

Количество

REF

INSTRUCTION

FOR THREE SPOOL AND FOUR SPOOL VALVES; XT

1шт.

4

8604567

VALVE, CHECK

1шт.

16

NSS

NOT SOLD SEPARAT

Housing

1шт.

21

864-5055

HEX SOC SCREW,M5 x 55mm, Cl 8.8

SCREW, M5 X 55; 8.8

4шт.

22

8604758

VALVE, CHECK

If Used

2шт.

22a

8602924

CARTRIDGE

If Used

2шт.

25

8604579

VALVE

1шт.

26

8604580

SPRING

Compression

1шт.

27

8604781

VALVE

Throttle Check

1шт.

28

8604582

RETAINER

Spring

1шт.

29

8604583

SPRING

Compression

2шт.

30

87311984

RETAINER

Retainer

1шт.

39

87692671

SPOOL

SPOOL

1шт.

40

8604566

SEAL KIT

For Valve Section; Ref 43; Incl. 40A - 40D

1шт.

40a

NSS

NOT SOLD SEPARAT

O-Ring; 7.65 x 1.78

1шт.

40b

NSS

NOT SOLD SEPARAT

O-Ring; 18.64 x 3.53

3шт.

40c

NSS

NOT SOLD SEPARAT

O-Ring; 25.07 x 2.62

2шт.

40d

NSS

NOT SOLD SEPARAT

Lock Nut; M8 x 1

2шт.

42

NSS

NOT SOLD SEPARAT

Valve Section

1шт.

Выбрано товаров: 19