Запчасти Case 521E (09-02) - CONTROL - RETURN-TO-DIG (XR) (09) - CHASSIS

Схема запчастей Case 521E - (09-02) - CONTROL - RETURN-TO-DIG (XR) (09) - CHASSIS
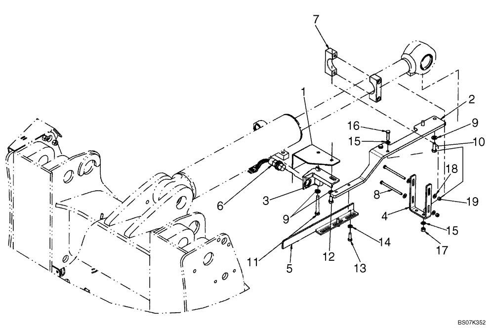
6
15
2
14
4
11
10
9
18
7
5
3
13
12
15
8
19
17
16
1
9
FIT
1:1
100%

Артикул

Название

Примечание

Количество

1

87403966

COVER

Proximity Switch

1шт.

2

87713864

BRACKET

Return To Dig

1шт.

3

L125983

SUPPORT

Proximity Switch

1шт.

4

87713873

BRACKET

U Hanger

1шт.

5

87403965

BRACKET

Target Return To Dig

1шт.

6

1546497C1

SWITCH

Proximity

1шт.

7

87713868

CLAMP

Clamp

1шт.

8

16045721

SCREW,Hex, M8 x 125mm, Cl 8.8

2шт.

9

896-11012

WASHER,13.5mm ID x 24mm OD x 3mm Thk

4шт.

10

627-12035

BOLT,Hex, M12 x 1.75 x 35mm, Cl 10.9, Full Thd

2шт.

11

827-12090

BOLT,Hex, M12 x 1.75 x 90mm, Cl 10.9

1шт.

12

627-12025

BOLT,Hex, M12 x 1.75 x 25mm, Cl 10.9, Full Thd

1шт.

13

627-10030

BOLT,Hex, M10 x 1.5 x 30mm, Cl 10.9, Full Thd

2шт.

14

896-11010

WASHER,11mm ID x 21mm OD x 2.5mm Thk

2шт.

15

895-11010

WASHER,11mm ID x 20mm OD x 2mm Thk

4шт.

16

827-10040

BOLT,Hex, M10 x 1.5 x 40mm, Cl 10.9, Full Thd

2шт.

17

832-10410

NUT,M10 x 1.5, Cl 8

2шт.

18

895-15008

WASHER,9mm ID x 20mm OD x 1.6mm Thk

4шт.

19

832-10408

NUT,M8 x 1.25, Cl 8.8

2шт.

Выбрано товаров: 19