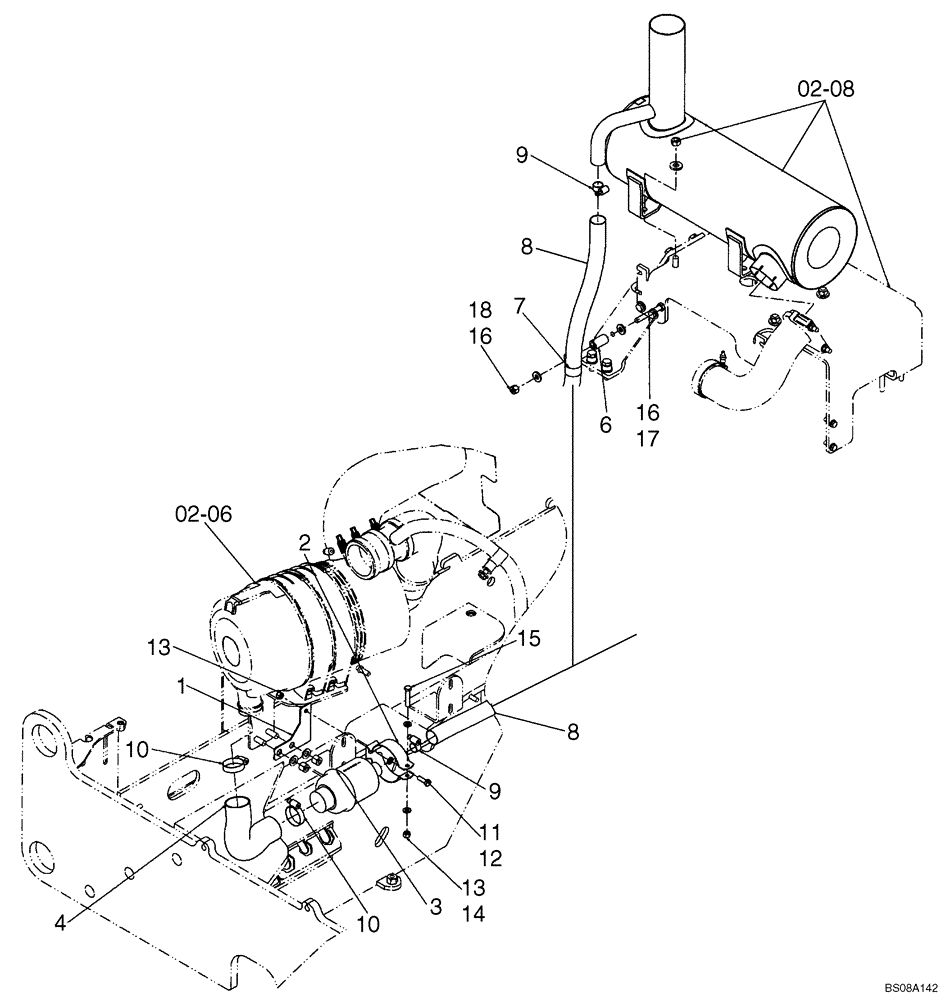
Запчасти Case 521E (02-08A) - MUFFLER - EXHAUST SYSTEM - ASPIRATOR (02) - ENGINE

Схема запчастей Case 521E - (02-08A) - MUFFLER - EXHAUST SYSTEM - ASPIRATOR (02) - ENGINE
6
3
8
9
7
4
02-08
13
14
11
18
16
17
1
2
16
15
10
02-06
12
9
10
8
FIT
1:1
100%

Артикул

Название

Примечание

Количество

1

NSS

NOT SOLD SEPARAT

Valve to Muffler

1шт.

2

90-7639T1

CLAMP

Aspirator Check Vavle

1шт.

3

87433700

VALVE, CHECK

Aspirator, 2" to 1 - 1/4"

1шт.

4

87675953

HOSE,2.00" ID

Valve to Air Cleaner

1шт.

6

D26770

SPACER

1шт.

7

515-24349

CLAMP,1 3/8", Insul, 7/16" Bolt

1шт.

8

87675954

HOSE,33.00 mm ID

Valve to Muffler

1шт.

9

214-1420

HOSE CLAMP,#20, 0.81" - 1.75", Type F Worm

2шт.

10

214-1436

HOSE CLAMP,#36, 1.81" - 2.75", Type F Worm

2шт.

11

895-11008

WASHER,9mm ID x 16mm OD x 1.6mm Thk

1шт.

12

627-8025

BOLT,Hex, M8 x 1.25 x 25mm, Cl 10.9, Full Thd

1шт.

13

832-10408

NUT,M8 x 1.25, Cl 8.8

2шт.

14

896-11008

WASHER,9mm ID x 17mm OD x 2mm Thk

2шт.

15

827-8045

BOLT,Hex, M8 x 1.25 x 45mm, Cl 10.9

1шт.

16

896-15010

WASHER,11mm ID x 24mm OD x 3mm Thk

2шт.

17

827-10075

BOLT,Hex, M10 x 1.5 x 75mm, Cl 10.9

1шт.

18

832-10410

NUT,M10 x 1.5, Cl 8

1шт.

Выбрано товаров: 17