Запчасти Case 521E (09-12) - COUPLER, HYDRAULIC - Z-BAR - ACS (09) - CHASSIS

Схема запчастей Case 521E - (09-12) - COUPLER, HYDRAULIC - Z-BAR - ACS (09) - CHASSIS
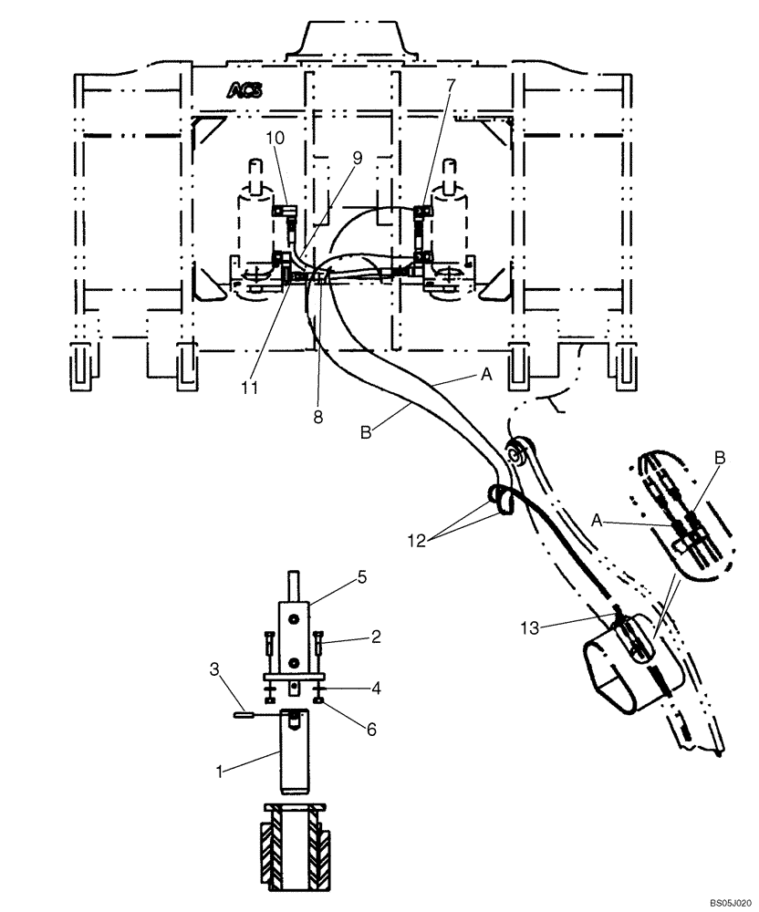
8
9
2
6
4
10
3
13
12
7
11
5
1
FIT
1:1
100%

Артикул

Название

Примечание

Количество

REF

INSTRUCTION

COUPLER, 87407964; ACS PRO 2000 Size 30; Z-Bar; Includes Jump Hoses; Not Illustrated

1шт.

REF

INSTRUCTION

PACKAGE, 388510A1; Manual; ACS PRO 2000 Size 30; Z-Bar; Not Illustrated

1шт.

REF

INSTRUCTION

CYLINDER/PIN KIT; ACS; Z-BAR; Vendor Part Number; 65595535; Incl. 1 - 6

1шт.

1

REF

INSTRUCTION

PIN, LOCKING; ACS; Z-BAR; Vendor Part Number; 40600850; 2 x 6-9/16 IN

2шт.

2

REF

INSTRUCTION

HEX BOLT; ACS; Z-BAR; Vendor Part Number; 60660520; 1/2-13 X 2 in

4шт.

3

REF

INSTRUCTION

PIN,ROLL; ACS; Z-BAR; Vendor Part Number; 40336700; 3/8 X 1-7/8 in

2шт.

4

REF

INSTRUCTION

WASHER; ACS; Z-BAR; Vendor Part Number; 60680180; 1/2 Lock

4шт.

5

REF

INSTRUCTION

CYLINDER; ACS; Z-BAR; Vendor Part Number; 50600775

2шт.

6

REF

INSTRUCTION

NUT; ACS; Z-BAR; Vendor Part Number; 60481390; 1/2-13 NC

4шт.

7

REF

INSTRUCTION

FITTING, TEE; ACS; Z-BAR; Vendor Part Number; 52800539

2шт.

8

REF

INSTRUCTION

HOSE; ACS; Z-BAR; Vendor Part Number; 54001217

1шт.

9

REF

INSTRUCTION

HOSE; ACS; Z-BAR; Vendor Part Number; 54001106

1шт.

10

REF

INSTRUCTION

FITTING, 90DEG; ACS; Z-BAR; Vendor Part Number; 52800553

2шт.

11

REF

INSTRUCTION

FITTING, 90DEG; ACS; Z-BAR; Vendor Part Number; 52800593

2шт.

12

REF

INSTRUCTION

HOSE; ACS; Z-BAR; Vendor Part Number; 54001315

2шт.

REF

INSTRUCTION

RETAINER; ACS; Z-BAR; Vendor Part Number; 62640051

1шт.

Выбрано товаров: 16