Запчасти Case 521E (09-28) - FRAME, FRONT (XT) (09) - CHASSIS

Схема запчастей Case 521E - (09-28) - FRAME, FRONT (XT) (09) - CHASSIS
2
8
6
14
4
10
7
15
13
11
5
1
16
3
12
9
17
11
FIT
1:1
100%

Артикул

Название

Примечание

Количество

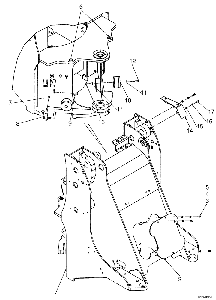
1

87632114

FRAME

Front Chassis, XT

1шт.

2

8605898

COVER

Valve

1шт.

3

895-11010

WASHER,11mm ID x 20mm OD x 2mm Thk

3шт.

4

892-11010

LOCK WASHER,M10

3шт.

5

627-10040

BOLT,Hex, M10 x 1.5 x 40mm, Cl 10.9, Full Thd

3шт.

6

380602A1

BUSHING

2шт.

7

406347A1

SUPPORT ASSY.

Linkage Support

1шт.

8

406390A1

HANDLE

Linkage Channel

1шт.

9

627-12020

BOLT,Hex, M12 x 1.75 x 20mm, Cl 10.9, Full Thd

1шт.

10

8500043

DAMPER,125mm OD x 70mm L

Articulation

2шт.

11

896-15012

WASHER,13.5mm ID x 28mm OD x 4mm Thk

4шт.

12

627-12040

BOLT,Hex, M12 x 1.75 x 40mm, Cl 10.9, Full Thd

2шт.

13

829-1412

NUT,M12, Cl 10.9

2шт.

14

87450063

COVER

Proximity Switch

1шт.

15

896-11012

WASHER,13.5mm ID x 24mm OD x 3mm Thk

2шт.

16

892-11012

LOCK WASHER,M12

2шт.

17

627-12035

BOLT,Hex, M12 x 1.75 x 35mm, Cl 10.9, Full Thd

2шт.

Выбрано товаров: 17