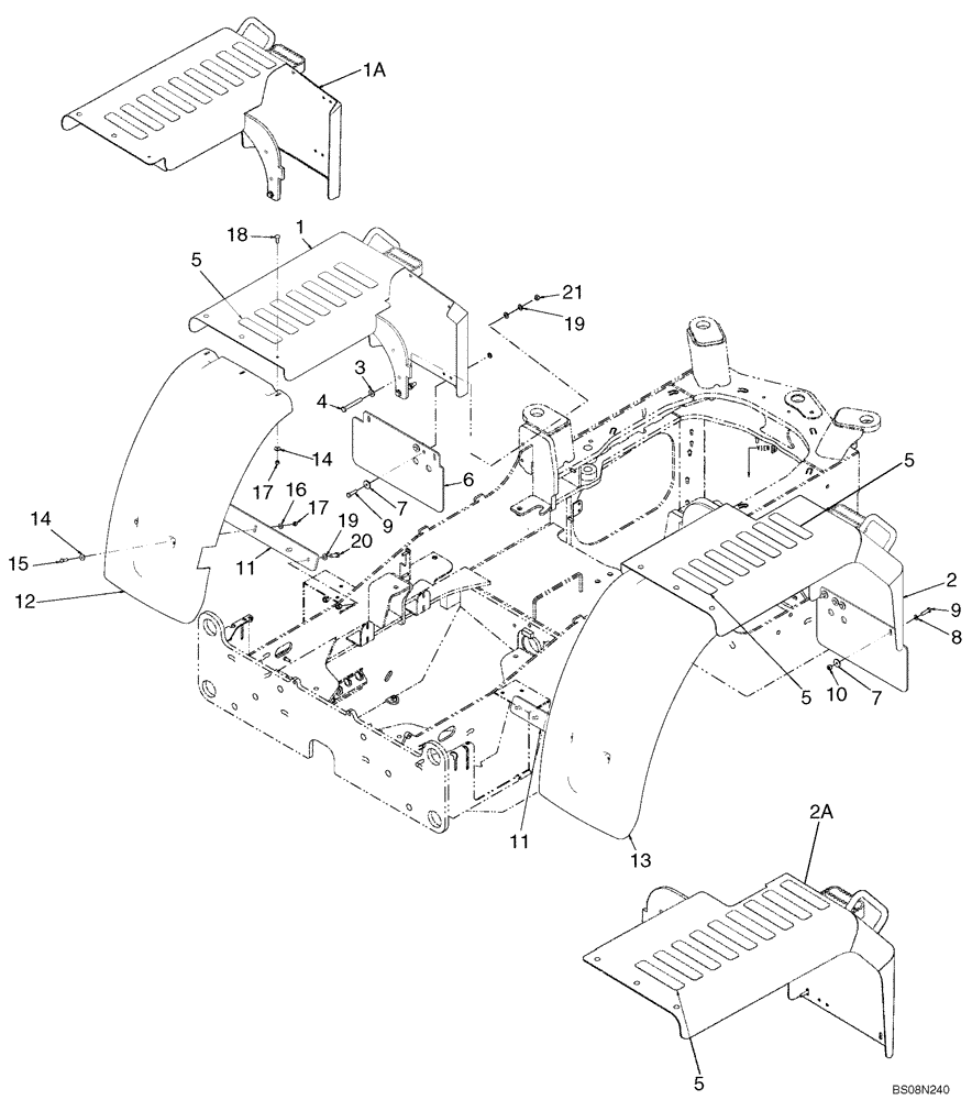
Запчасти Case 521E (09-40) - FENDERS, REAR - WIDE (09) - CHASSIS

Схема запчастей Case 521E - (09-40) - FENDERS, REAR - WIDE (09) - CHASSIS
21
7
18
4
12
15
6
2
19
13
9
10
14
2a
14
19
3
1a
5
9
9
5
1
20
5
16
17
11
5
11
7
17
FIT
1:1
100%

Артикул

Название

Примечание

Количество

REF

INSTRUCTION

REAR FENDERS - WIDE

1шт.

1

87706272

SUPPORT

LH Platform; Prior To P.I.N. N8F204954

1шт.

1a

87754699

SUPPORT

LH Platform; P.I.N. N8F204954 And After

1шт.

2

87706270

SUPPORT

RH Platform; Prior To P.I.N. N8F204954

1шт.

2a

87754701

SUPPORT

RH Platform; P.I.N. N8F204954 And After

1шт.

3

896-15012

WASHER,13.5mm ID x 28mm OD x 4mm Thk

4шт.

4

827-12100

BOLT,Hex, M12 x 1.75 x 100mm, Cl 10.9

4шт.

5

D55216

PAD,2" x 9"

14-18шт.

6

87605774

MUDFLAP

Rear

2шт.

7

39519

WASHER,10.31mm ID x 34.9mm OD x 3.57mm Thk

Zinc

6-8шт.

8

895-11010

WASHER,11mm ID x 20mm OD x 2mm Thk

6-8шт.

9

627-10040

BOLT,Hex, M10 x 1.5 x 40mm, Cl 10.9, Full Thd

8шт.

10

832-10410

NUT,M10 x 1.5, Cl 8

4шт.

11

87652929

BRACKET

Rear Wide Fender

2шт.

12

87600968

FENDER

Rear Wide LH

1шт.

13

87600969

FENDER

Rear Wide RH

1шт.

14

895-25008

WASHER,9mm ID x 24mm OD x 2mm Thk

10шт.

15

627-8030

BOLT,Hex, M8 x 1.25 x 30mm, Cl 10.9, Full Thd

4шт.

16

896-15008

WASHER,9mm ID x 21mm OD x 2.5mm Thk

4шт.

17

832-10408

NUT,M8 x 1.25, Cl 8.8

10шт.

18

612-6

CARRIAGE BOLT,M8 x 30mm, Class 4.6

6шт.

19

896-11012

WASHER,13.5mm ID x 24mm OD x 3mm Thk

12шт.

20

627-12035

BOLT,Hex, M12 x 1.75 x 35mm, Cl 10.9, Full Thd

4шт.

21

829-1412

NUT,M12, Cl 10.9

4шт.

Выбрано товаров: 24