Запчасти Case 521E (09-68) - CAB - DOOR MOUNTING (09) - CHASSIS

Схема запчастей Case 521E - (09-68) - CAB - DOOR MOUNTING (09) - CHASSIS
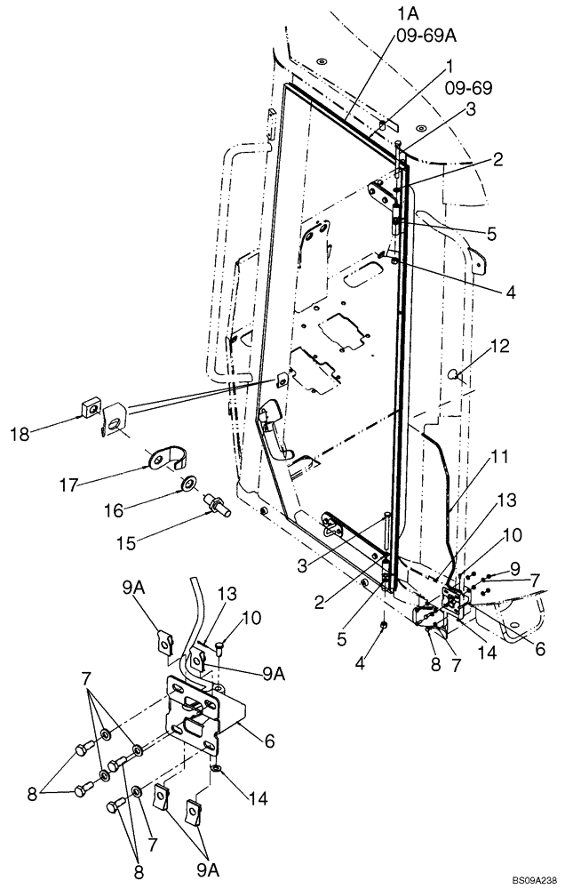
13
14
2
7
8
1a
11
1
16
6
4
10
6
8
9a
15
14
09-69
7
09-69a
17
12
9a
18
2
7
3
9a
4
5
9
7
3
5
8
10
13
FIT
1:1
100%

Артикул

Название

Примечание

Количество

1

87627075

DOOR

CAB, LH, Prior To P.I.N N8F206374; See Figure 09-69

1шт.

1a

84141656

LH CAB DOOR

P.I.N. N8F206374 And After; See Figure 09-69A

1шт.

2

F64046

WASHER,9.91mm ID x 19.05mm OD x 0.76mm Thk

Thrust

2шт.

3

827-10120

BOLT,Hex, M10 x 1.5 x 120mm, Cl 10.9

2шт.

4

832-10410

NUT,M10 x 1.5, Cl 8

2шт.

5

86547919

WASHER,10.3mm ID x 16.1mm OD x 2.1mm Thk

2шт.

6

4227178

LOCK

1шт.

7

87664048

WASHER,6.6mm ID x 12mm OD x 1.6mm Thk

M6.6 x 12 x 1.6

4-8шт.

8

10902224

SCREW,Hex, M6 x 16mm, Cl 8.8, Full Thd

4шт.

9

825-1406

NUT,M6, Cl 8

If Used

4шт.

9a

833-40306

SPRING NUT,M6, U

If Used

4шт.

10

71485274

PIN,5mm OD x 13mm L

1шт.

11

76303589

CABLE,693mm L

1шт.

12

76303157

KNOB

1шт.

13

732-1610

COTTER PIN,M1.6 x 10

2шт.

14

895-11005

WASHER,5.5mm ID x 10mm OD x 1mm Thk

1шт.

15

76043511

LOCK BOLT

Door Striker

1шт.

16

895-11012

WASHER,13.5mm ID x 24mm OD x 2.5mm Thk

1шт.

17

76048628

GUARD

Door Stop Cover

1шт.

18

76067753

LOCK NUT

Door Striker Nut

1шт.

Выбрано товаров: 0