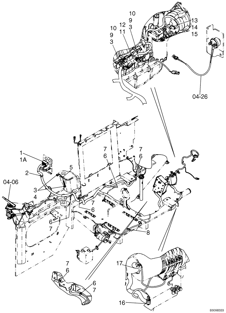
Запчасти Case 521E (04-05) - HARNESS - ENGINE AND REAR CHASSIS (04) - ELECTRICAL SYSTEMS

Схема запчастей Case 521E - (04-05) - HARNESS - ENGINE AND REAR CHASSIS (04) - ELECTRICAL SYSTEMS
6
12
6
7
9
6
9
7
7
6
15
16
7
10
6
6
1a
04-26
04-06
3
1
7
8
17
3
7
13
11
2
3
14
5
10
4
FIT
1:1
100%

Артикул

Название

Примечание

Количество

1

87696484

HARNESS

Engine and Rear Chassis; Models With 87315269 105A Circuit Breaker, See Figure 04-07; If Used For Fuel Injection Module See Fig. 3-09, Serial Range: -NAF208645

1шт.

1

84191341

WIRE HARNESS

, Start Serial: NAF208646

1шт.

1a

84125382

WIRE HARNESS

HARNESS, Engine and Rear Chassis; Models Without 87315269 105A Circuit Breaker, See Figure 04-07; If Used

1шт.

2

515-21302

CLAMP,1 3/16", Insul, 1/4" Bolt

1шт.

3

L127554

WASHER,0.395" ID x 0.875" OD x 0.064" Thk

2шт.

4

253347A1

NUT,Hex, M10 x 1.5

2шт.

5

L126051

GROUND STRAP

1шт.

6

895-15010

WASHER,11mm ID x 24mm OD x 2mm Thk

6шт.

7

832-10410

NUT,M10 x 1.5, Cl 8

6шт.

8

L11541

CABLE TIE,203.2mm L, Nylon

CABLE STRAP Wire Tie

12шт.

9

L127555

NUT,Hex, 3/8" - 16

2шт.

10

L127553

STUD

2шт.

11

896-11012

WASHER,13.5mm ID x 24mm OD x 3mm Thk

1шт.

12

627-12025

BOLT,Hex, M12 x 1.75 x 25mm, Cl 10.9, Full Thd

1шт.

13

399470R1

BOOT

Alternator Wire Cover; If Used

1шт.

14

895-11008

WASHER,9mm ID x 16mm OD x 1.6mm Thk

1шт.

15

832-10408

NUT,M8 x 1.25, Cl 8.8

1шт.

16

321446A1

SENSOR

Engine Coolant

1шт.

17

279492A1

RESTRICTION SWITCH

Air Restriction

1шт.

Выбрано товаров: 19