Запчасти Case 521E (04-18) - MOUNTING - LAMPS, FRONT (04) - ELECTRICAL SYSTEMS

Схема запчастей Case 521E - (04-18) - MOUNTING - LAMPS, FRONT (04) - ELECTRICAL SYSTEMS
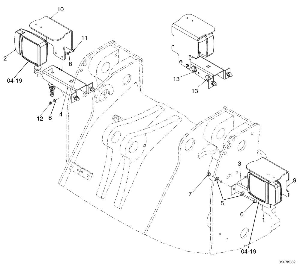
1
9
5
4
8
13
13
8
11
2
7
6
04-19
04-19
3
10
12
FIT
1:1
100%

Артикул

Название

Примечание

Количество

1

368056A1

LIGHT,Halogen, 24V, 70W, Clear

Combination Left; See Figure 04-19

1шт.

2

368055A1

LIGHT,Halogen, 24V, 70W, Clear

Combination Right; See Figure 04-19

1шт.

3

87749484

BRACKET

Light Mounting Arm, LH; Replaces 87588276

1шт.

4

87749489

BRACKET

Light Mounting Arm, RH; Replaces 87351705

1шт.

5

896-11012

WASHER,13.5mm ID x 24mm OD x 3mm Thk

8шт.

6

614-12040

BOLT,Hex, M12 x 1.75 x 40mm, Cl 8.8, Full Thd

4шт.

7

829-1412

NUT,M12, Cl 10.9

4шт.

8

895-11008

WASHER,9mm ID x 16mm OD x 1.6mm Thk

8шт.

9

87351718

SHIELD

Light

1шт.

10

87384993

SHIELD

Light

1шт.

11

614-8025

BOLT,Hex, M8 x 1.25 x 25mm, Cl 8.8, Full Thd

4шт.

12

829-1408

NUT,Hex, M8 x 1.25, Cl 10.9

4шт.

13

248-2376

GROMMET,5/8" ID x 1 1/4" Groove Dia, Str Cut

LH Light Bracket Only

3шт.

Выбрано товаров: 13