Запчасти Case 621E (06-17) - TRANSMISSION - VALVE, CONTROL - PRIOR TO P.I.N. N8F203848 (06) - POWER TRAIN

Схема запчастей Case 621E - (06-17) - TRANSMISSION - VALVE, CONTROL - PRIOR TO P.I.N. N8F203848 (06) - POWER TRAIN
20
19
11
24
18
21
5
15
16
19
5
6
15
17
15
7
12
1
15
14
8
22
9
21
8
13
18
4
14
17
7
13
16
23
10
6
FIT
1:1
100%

Артикул

Название

Примечание

Количество

87572394

TRANSMISSION

See Figures 06-03 - 06-20, 07-01; Incl. Refs. 1 - 24; Prior To P.I.N. N8F203848

1шт.

87712671

CONTROL VALVE

Incl. 1 - 24; Incl. Figure 06-18

1шт.

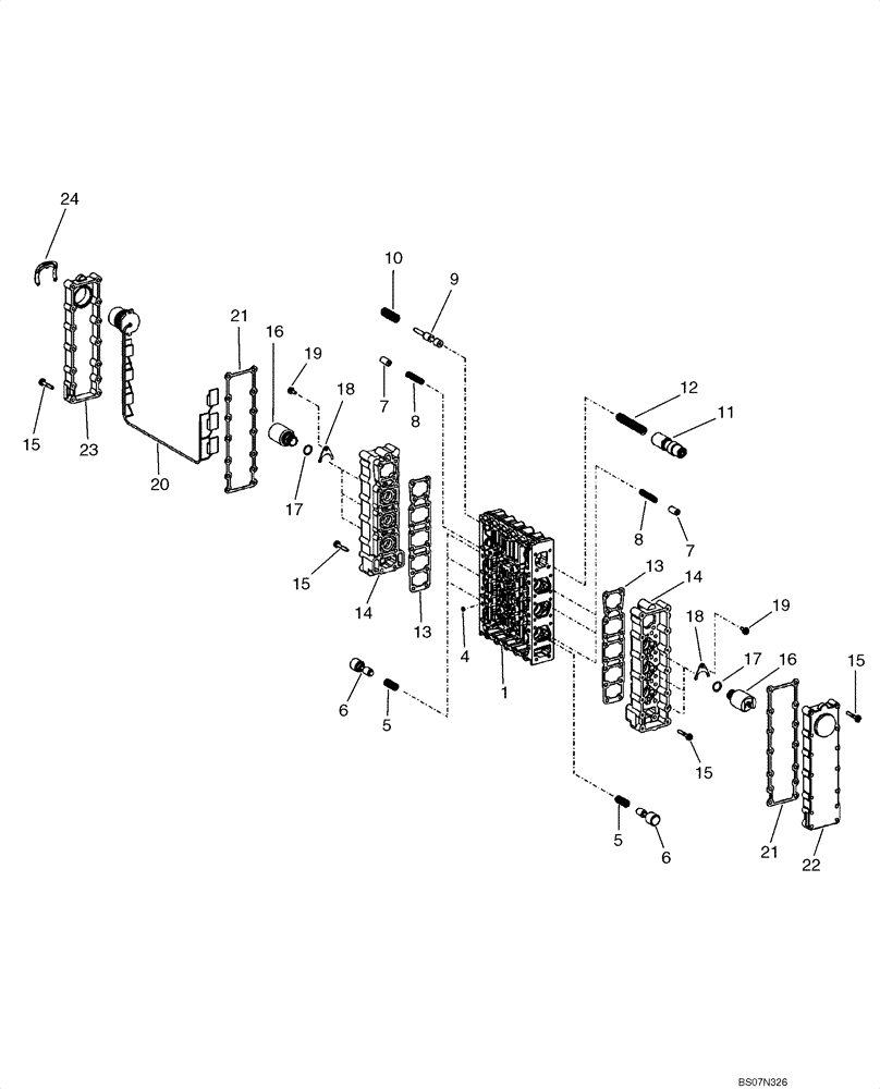
1

87712666

BLOCK

VALVE

1шт.

4

8603367

ORIFICE

6шт.

5

8603368

PLUNGER

6шт.

6

8603369

SPRING

6шт.

7

8603370

PISTON

6шт.

8

8603371

SPRING

6шт.

9

8603372

PISTON

1шт.

10

8603374

SPRING

1шт.

11

8603623

PLUNGER

1шт.

12

8603375

SPRING

1шт.

13

8603786

GASKET

2шт.

14

8603376

HOUSING

2шт.

15

8603377

SCREW

64шт.

16

8603624

REGULATING SYSTEM

Pressure; Incl. Ref. 17

6шт.

17

8603538

O-RING,13.5mm ID x 2mm Width

1шт.

18

8603218

PLATE

Locating

6шт.

19

8603359

SCREW

6шт.

20

8603625

WIRE HARNESS

1шт.

21

8603787

GASKET

2шт.

22

8603360

COVER

Closed

1шт.

23

8603361

COVER

Harness Adapter

1шт.

24

8603362

CLAMP

1шт.

Выбрано товаров: 24