Качественные детали и логистика
Оригинальные и аналоговые запчасти с доставкой по России, Казахстану и Беларуси
©2022 PartSell ООО "Система" ИНН 2463123282 ОГРН 1212400004838
Центральный офис: г. Красноярск, Академика Киренского, д.87, пом.4
Телефон: 8 (800) 777-65-74 Email: zakaz@partsell.ru
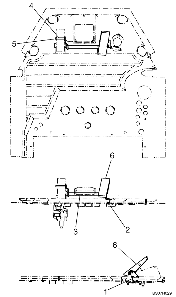
(07-02) - BRAKE PEDALS
№
Артикул
Название
Примечание
Количество
REF
INSTRUCTION
RIGHT HAND PEDAL
1шт.
1
87568400
MOUNTING PARTS
2
844-8025
BOLT,Hvy Hex, M8 x 25mm, Cl 8.8
2шт.
3
87542219
PEDAL ASSY.
Tag-Along Pedal
4
383868A1
PIN
5
800-44012
SNAP RING,M12, Ext
6
383869A2
RUBBER PEDAL PAD
Выбрано товаров: 0