Запчасти Case 621E (08-02A) - HYDRAULICS - FILTER, OIL (08) - HYDRAULICS

Схема запчастей Case 621E - (08-02A) - HYDRAULICS - FILTER, OIL (08) - HYDRAULICS
10
7
3
6
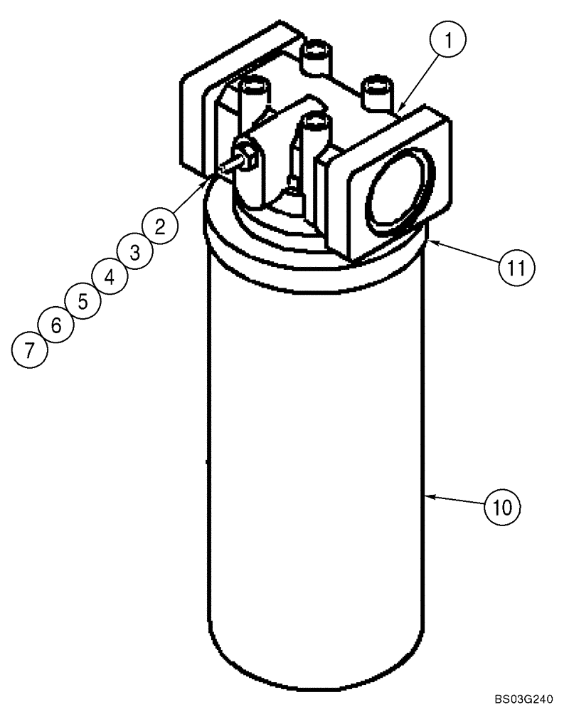
1
4
5
2
11
FIT
1:1
100%

Артикул

Название

Примечание

Количество

87308929

FILTER ASSY

With Reverse Flow; Models With Ride Control; Incl. 1 - 11

1шт.

87308928

FILTER ASSY

Without Reverse Flow: Models Without Ride Control, Incl 1 - 11

1шт.

1

NSS

NOT SOLD SEPARAT

Head

1шт.

8604802

PRESSURE SWITCH

Incl. 2 - 7

1шт.

2

NSS

NOT SOLD SEPARAT

Indicator

1шт.

3

NSS

NOT SOLD SEPARAT

Washer, Special; Red/White

1шт.

4

129-667

NUT,#10-32, LH

2шт.

5

493-21020

LOCK WASHER,Int Tooth, #10

(3/16")

1шт.

6

237-6006

O-RING,0.078" Thk x 0.468" ID, -906, Cl 6, 90 Duro

1шт.

7

238-5011

O-RING,0.07" Thk x 0.301" ID, -11, Cl 5, 75 Duro

1шт.

10

84406710

HYDRAULIC OIL FILTER,Spin-on, 1 ¾” – 12, 121mm OD x 297mm L

For Models With Or Without Ride Control; Incl. 10A

1шт.

11

NSS

NOT SOLD SEPARAT

O-RING

1шт.

Выбрано товаров: 12