Запчасти Case 621E (08-20A) - VALVE ASSY - RIDE CONTROL DIRECTIONAL (RSM2-16) (08) - HYDRAULICS

Схема запчастей Case 621E - (08-20A) - VALVE ASSY - RIDE CONTROL DIRECTIONAL (RSM2-16) (08) - HYDRAULICS
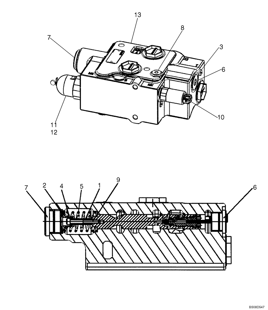
1
5
2
7
7
4
11
12
3
9
13
10
6
6
8
FIT
1:1
100%

Артикул

Название

Примечание

Количество

87393431

VALVE

Ride Control RSM2-16; Incl. Refs. 1 - 13

1шт.

1

87453761

BUSHING

1шт.

2

87453762

SPRING

Carrier

1шт.

3

87453765

BLEED SCREW

M6 x 20

1шт.

4

87453766

SPRING

1шт.

5

87453767

SPRING

1шт.

6

87453768

PLUG

3/4 in

1шт.

7

87453769

PLUG

1 in

1шт.

8

87453770

PLUG

M14 x 1.5

1шт.

9

87453771

HEX SOC SCREW,M5 x 40mm, Gr 8.8

M5 x 40, Cl 8.8

1шт.

10

87453772

SOLENOID VALVE

1шт.

11

87533290

VALVE, PRESSURE RELI

EF

1шт.

12

87494562

SEAL

1шт.

13

NSS

NOT SOLD SEPARAT

BODY, VALVE

1шт.

Выбрано товаров: 14