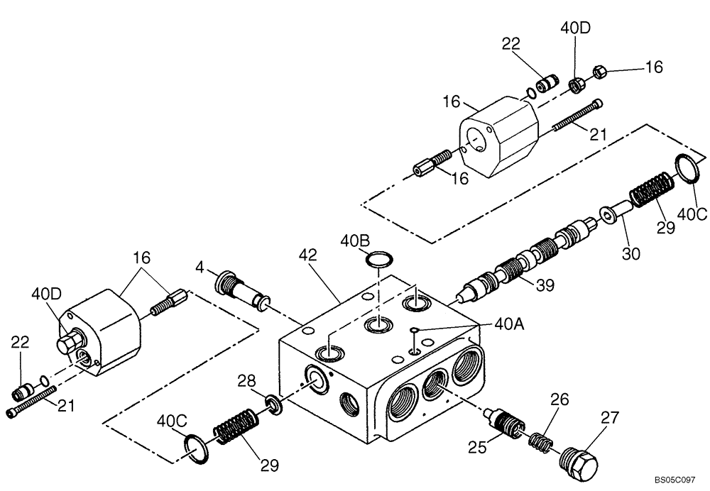
Запчасти Case 621E (08-27B) - VALVE ASSY - LOADER CONTROL -VALVE SECTION - (Z-BAR/XR) (08) - HYDRAULICS

Схема запчастей Case 621E - (08-27B) - VALVE ASSY - LOADER CONTROL -VALVE SECTION - (Z-BAR/XR) (08) - HYDRAULICS
22
40c
42
40b
29
26
40d
25
21
21
4
28
39
40d
16
40a
30
27
16
16
16
29
22
40c
FIT
1:1
100%

Артикул

Название

Примечание

Количество

REF

INSTRUCTION

FOR THREE SPOOL AND FOUR SPOOL VALVES; Z-BAR/XR

1шт.

4

8604567

VALVE, CHECK

1шт.

16

NSS

NOT SOLD SEPARAT

Housing

1шт.

21

87657975

HEX SOC SCREW,M5 x 55mm, Cl 8.8

M5 X 55; 8.8

4шт.

22

8604578

CHECK VALVE

2шт.

25

8604579

VALVE

1шт.

26

8604580

SPRING

Compression

1шт.

27

8604781

VALVE

Throttle Check

1шт.

28

8604582

RETAINER

Spring

1шт.

29

8604583

SPRING

Compression

2шт.

30

87311984

RETAINER

Retainer

1шт.

39

87311975

SPOOL

1шт.

40

8604566

SEAL KIT

For Valve Section; Ref 43; Incl. 40A - 40D

1шт.

40a

NSS

NOT SOLD SEPARAT

O-Ring; 7.65 x 1.78

1шт.

40b

NSS

NOT SOLD SEPARAT

O-Ring; 18.64 x 3.53

3шт.

40c

NSS

NOT SOLD SEPARAT

O-Ring; 25.07 x 2.62

2шт.

40d

NSS

NOT SOLD SEPARAT

Lock Nut; M8 x 1

2шт.

42

NSS

NOT SOLD SEPARAT

Valve Section

1шт.

Выбрано товаров: 18