Запчасти Case 621E (08-28A) - VALVE ASSY - PISTON AXIS - (XT) (08) - HYDRAULICS

Схема запчастей Case 621E - (08-28A) - VALVE ASSY - PISTON AXIS - (XT) (08) - HYDRAULICS
16
29
22
37
34
21
30
27
16
37
22
21
28
23
20
15a
16
19
17
15a
22
16
36
15b
36
15b
24
27
30
15a
15a
28
22
33
25
26
32
29
35
18
31
29
29
FIT
1:1
100%

Артикул

Название

Примечание

Количество

REF

INSTRUCTION

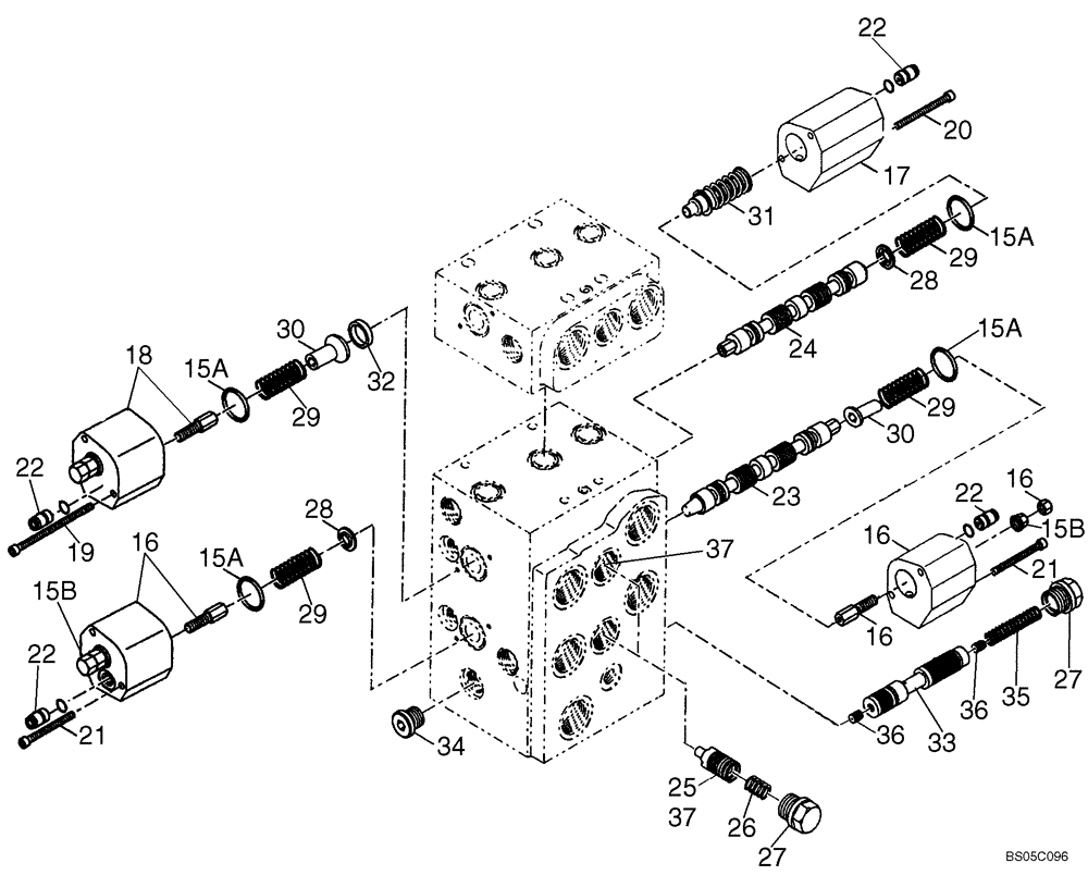
TWO, THREE, AND FOUR SPOOL VALVES FOR XT MODELS

1шт.

15

8604575

SEAL KIT

Incl. 15A, 15B; For Refs. 16, 17, 18

1шт.

15a

NSS

NOT SOLD SEPARAT

O-Ring; 25.07 x 2.62

4шт.

15b

NSS

NOT SOLD SEPARAT

Lock Nut; M8 x 1

2шт.

16

8604576

COVER

2шт.

17

87311972

COVER

1шт.

18

8605577

COVER

1шт.

19

864-5060

HEX SOC SCREW,M5 x 60mm, Cl 8.8

2шт.

20

87311974

HEX SOC SCREW,M5 x 85mm, Cl 10.9

M5 x 85; 10.9

2шт.

21

864-5055

HEX SOC SCREW,M5 x 55mm, Cl 8.8

M5 x 55; 8.8

4шт.

22

8604578

CHECK VALVE

Throttle Check Valve; 2 Have Been Removed From Ref 16 Covers.

2шт.

87479887

FIP KIT

Incl. Ref. 23 And 87476371 +30 Configuration Spool Valve

1шт.

23

87692471

SPOOL

Lift Arm

1шт.

24

87692470

SPOOL

Loader Bucket

1шт.

25

8604579

VALVE

1шт.

26

8604580

SPRING

Compression

2шт.

27

8604581

SCREW,Lock, M6

Plug; M22 x 1.5

3шт.

28

8604582

RETAINER

Spring

2шт.

29

8604583

SPRING

Compression

4шт.

30

87311984

RETAINER

Retanier

2шт.

31

87311985

SPRING

1шт.

32

87311986

RING

1шт.

33

8604584

PISTON

1шт.

34

87311988

PLUG

1шт.

35

8604586

SPRING

Compression

1шт.

36

87311990

JET

2шт.

37

87311991

SPOOL

1шт.

Выбрано товаров: 0