Запчасти Case 621E (09-19) - LOADER BUCKET - WITH BOLT ON TEETH, SEGMENTS AND SKID PADS (09) - CHASSIS

Схема запчастей Case 621E - (09-19) - LOADER BUCKET - WITH BOLT ON TEETH, SEGMENTS AND SKID PADS (09) - CHASSIS
7
6b
3
11
4
1
5
10
12
6a
2
6
9
8
13
10
10
9
FIT
1:1
100%

Артикул

Название

Примечание

Количество

REF

INSTRUCTION

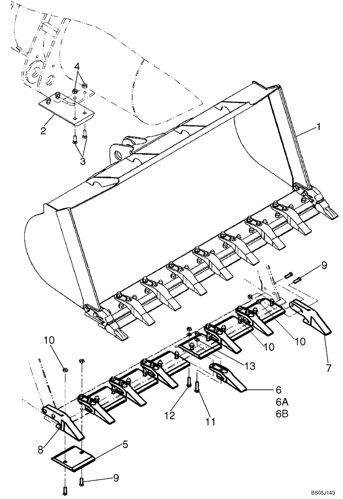
WELDED ON BUCKET COMPONENTS ARE NOT SERVICED SEPARATELY

1шт.

1

REF

INSTRUCTION

BUCKET ASSEMBLY, 428433A1; 1.9 Cubic Meters ( 2.5 Cubic Yards ); Order From Whole Goods; Incl. 2-13

1шт.

1

REF

INSTRUCTION

BUCKET ASSEMBLY, 428436A1; 2 Cubic Meters ( 2.75 Cubic Yards ); Order From Whole Goods; Incl. 2-13

1шт.

1a

REF

INSTRUCTION

BUCKET ASSEMBLY, 418471A1; 1.9 Cubic Meters ( 2.5 Cubic Yards ); Use With ACS Coupler;Order From Whole Goods; Incl. 2 - 13; Not Illustrated

1шт.

1a

REF

INSTRUCTION

BUCKET ASSEMBLY, 434537A1; 1.9 Cubic Meters ( 2.5 Cubic Yards ); Use With JRB Coupler;Order From Whole Goods; Incl. 2 - 13; Not Illustrated

1шт.

1a

REF

INSTRUCTION

BUCKET ASSEMBLY, 87728745; 1.9 Cubic Meters ( 2.5 Cubic Yards ); Use With CNH Coupler;Order From Whole Goods; Incl. 2 - 13; Not Illustrated

1шт.

REF

INSTRUCTION

BOLT ON SKID PAD

1шт.

2

360939A1

PLATE

Bottom; Bolt On

2шт.

3

420-21236

CARRIAGE BOLT,#3, 3/4" - 10 x 2 1/4", Gr 8

8шт.

4

425-1612

NUT,3/4"-10, G5, Hvy

8шт.

REF

INSTRUCTION

BUCKET TEETH AND CUTTING EDGE SEGMENTS

1шт.

5

373354A1

CUTTING EDGE

7шт.

6

254825A1

TEETH

Center; Standard Incl. 6A, 6B

6шт.

6a

233792A1

BUCKET TOOTH KEY

1шт.

NSS

NOT SOLD SEPARAT

Shank

1шт.

6b

127555A1

TOOTH

Standard

1шт.

6b

254822A1

TOOTH

Abrasion; Not Illustrated

1шт.

6b

254823A1

BUCKET TOOTH

Penetration; Not Illustrated

1шт.

7

76082151

TOOTH

Corner; Left

1шт.

8

368526A1

TOOTH

Corner; Right

1шт.

9

420-21244

PLOW BOLT,#3, 3/4" - 10 x 2 3/4", Gr 8

18шт.

10

425-1612

NUT,3/4"-10, G5, Hvy

30шт.

11

426-1252

BOLT,Hex, 3/4" - 10 x 3-1/4", Gr 8

6шт.

12

426-1244

BOLT,Hex, 3/4" - 10 x 2-3/4", Gr 8

6шт.

13

496-11081

WASHER,13/16" x 1 1/2" x .134", HDN

12шт.

Выбрано товаров: 25