Запчасти Case 621E (09-34) - FENDERS, REAR - WIDE (09) - CHASSIS

Схема запчастей Case 621E - (09-34) - FENDERS, REAR - WIDE (09) - CHASSIS
4
1b
16
12
22
10
19
23
5
17
6
21
14
4
22
5
9
9
20
24
7
12
1a
2
15
8
3
16
13
3
23
24
4
22
19
2b
11
7
2a
14
3a
1
19
8
18
14
6
FIT
1:1
100%

Артикул

Название

Примечание

Количество

REF

INSTRUCTION

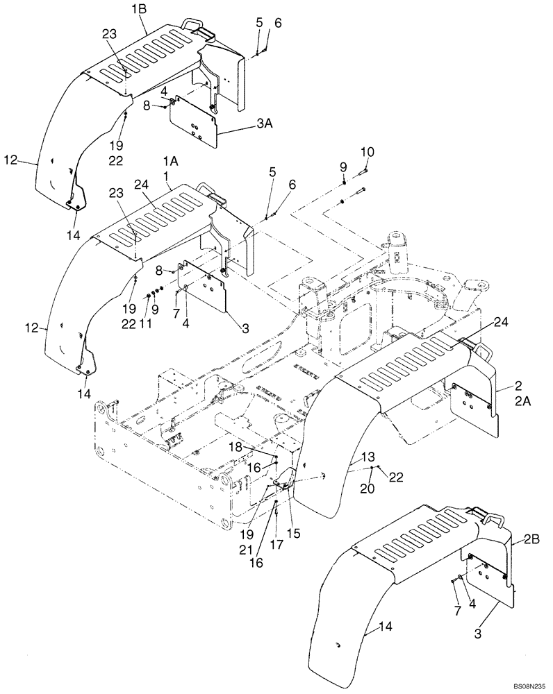
REAR FENDERS - WIDE

1шт.

1

87652903

SUPPORT

LH Platform; Prior To P.I.N. N8F203565

1шт.

1a

87742467

SUPPORT

LH Platform; P.I.N. N8F203565 - N8F204934

1шт.

1b

87739711

SUPPORT

LH Platform; P.I.N. N8F204935 And After

1шт.

2

87652904

SUPPORT

RH Platform; Prior To P.I.N. N8F203565

1шт.

2a

87742468

SUPPORT

RH Platform; P.I.N. N8F203565 - N8F204934

1шт.

2b

87754706

SUPPORT

RH Platform; P.I.N. N8F204935 And After

1шт.

3

87559792

MUDFLAP

Rear

1-2шт.

3a

87754710

MUDFLAP

Rear LH Fender; Used On 87739711 Fender, Ref. 1B; P.I.N. N8F204935 And After

1шт.

4

39519

WASHER,10.31mm ID x 34.9mm OD x 3.57mm Thk

6-8шт.

5

895-11010

WASHER,11mm ID x 20mm OD x 2mm Thk

4шт.

6

627-10030

BOLT,Hex, M10 x 1.5 x 30mm, Cl 10.9, Full Thd

4шт.

7

627-10040

BOLT,Hex, M10 x 1.5 x 40mm, Cl 10.9, Full Thd

2-4шт.

8

832-10410

NUT,M10 x 1.5, Cl 8

4шт.

9

896-11016

WASHER,17.5mm ID x 30mm OD x 4mm Thk

16шт.

10

827-16070

BOLT,Hex, M16 x 2 x 70mm, Cl 10.9

4шт.

11

829-1416

NUT,M16, Cl 10

4шт.

12

87559793

REAR FENDER

Wide Left

1шт.

13

87559794

REAR FENDER

Wide Right

1шт.

14

87559816

BRACKET

Left Hand

1шт.

15

87559817

BRACKET

Right Hand

1шт.

16

896-11012

WASHER,13.5mm ID x 24mm OD x 3mm Thk

8шт.

17

627-12035

BOLT,Hex, M12 x 1.75 x 35mm, Cl 10.9, Full Thd

4шт.

18

829-1412

NUT,M12, Cl 10.9

4шт.

19

895-25008

WASHER,9mm ID x 24mm OD x 2mm Thk

10шт.

20

895-15008

WASHER,9mm ID x 20mm OD x 1.6mm Thk

4шт.

21

627-8030

BOLT,Hex, M8 x 1.25 x 30mm, Cl 10.9, Full Thd

4шт.

22

832-10408

NUT,M8 x 1.25, Cl 8.8

10шт.

23

612-6

CARRIAGE BOLT,M8 x 30mm, Class 4.6

6шт.

24

D55216

PAD,2" x 9"

18шт.

Выбрано товаров: 30