Запчасти Case 621E (03-03) - FILTER, FUEL (03) - FUEL SYSTEM

Схема запчастей Case 621E - (03-03) - FILTER, FUEL (03) - FUEL SYSTEM
13
2
5
13
11
1
7
8
6
13
13
8
10
13
9
3
8
12
8
4
13
14
FIT
1:1
100%

Артикул

Название

Примечание

Количество

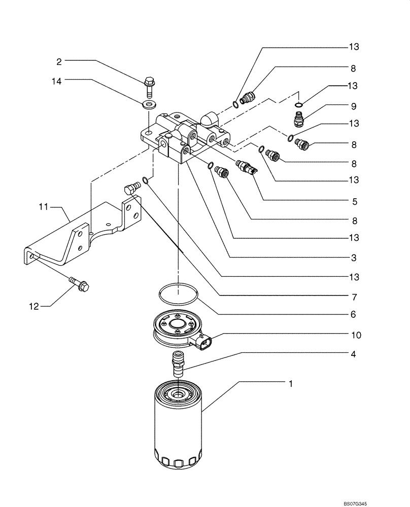
1

84412164

FUEL FILTER,94mm OD x 192mm L, M20 x 1.5, 10 Microns

1шт.

2

2830733

SCREW

M8 x 25

2шт.

2852436

FILTER HEAD

ASSY. With Heater, Incl. Refs. 3 - 10, 13

1шт.

3

NSS

NOT SOLD SEPARAT

Fuel Filter Head

1шт.

4

4898758

ADAPTER

1шт.

5

4897224

SENSOR

Temperature

1шт.

6

4898876

O-RING,63.1mm ID x 3.53mm Width

1шт.

7

4893464

PLUG

Threaded

1шт.

8

4890964

FITTING,M12 x 1.5

4шт.

9

4896543

FITTING

1шт.

10

4897838

HEATER

1шт.

11

2852793

BRACKET

Fuel Filter Head Mounting

1шт.

12

2852791

SCREW

M8 x 20

4шт.

13

4894721

SEALING WASHER,12.2mm ID x 17mm OD x 1.5mm Thk

6шт.

14

12647104

WASHER,8.15mm ID x 20mm OD x 3mm Thk

2шт.

Выбрано товаров: 0