Запчасти Case 721E (05-19) - VALVE ASSY - STEERING, AUXILIARY (05) - STEERING

Схема запчастей Case 721E - (05-19) - VALVE ASSY - STEERING, AUXILIARY (05) - STEERING
3
6
4
2
4
10
8
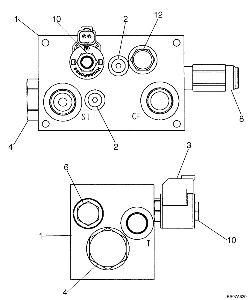
1
12
1
2
10
FIT
1:1
100%

Артикул

Название

Примечание

Количество

1

87609806

MANIFOLD

Auxiliary Steering; Replaces 87341296; Incl. 2 - 13

1шт.

2

87365409

PLUG

Orifice

1шт.

3

87617170

COIL

Solenoid; Replaces 87365413

1шт.

4

87365418

CHECK VALVE

Incl. Ref 5

1шт.

5

87365420

SEAL KIT

Check Valve; Not Illustrated

1шт.

6

87365422

CHECK VALVE

Incl. Ref. 7

1шт.

7

1542831C1

SEAL KIT

Replaces 87365424; Not Illustrated

1шт.

8

87365425

VALVE, PRESSURE RELI

EF Incl. 9

1шт.

9

1542831C1

SEAL KIT

Replaces 87365426; Not Illustrated

1шт.

10

87365427

SPOOL

Incl. 11

1шт.

11

87365429

SEAL KIT

Not Illustrated

1шт.

12

87365430

ELEMENT

Logic; Incl. 13

1шт.

13

87365429

SEAL KIT

Not Illustrated

1шт.

Выбрано товаров: 13