Запчасти Case 721E (08-33A) - VALVE, CONTROL - MOUNTING, FOUR SPOOL (Z-BAR/XT LOADER) (08) - HYDRAULICS

Схема запчастей Case 721E - (08-33A) - VALVE, CONTROL - MOUNTING, FOUR SPOOL (Z-BAR/XT LOADER) (08) - HYDRAULICS
6a
5
5
4
2
6
3
6b
1
4
FIT
1:1
100%

Артикул

Название

Примечание

Количество

REF

INSTRUCTION

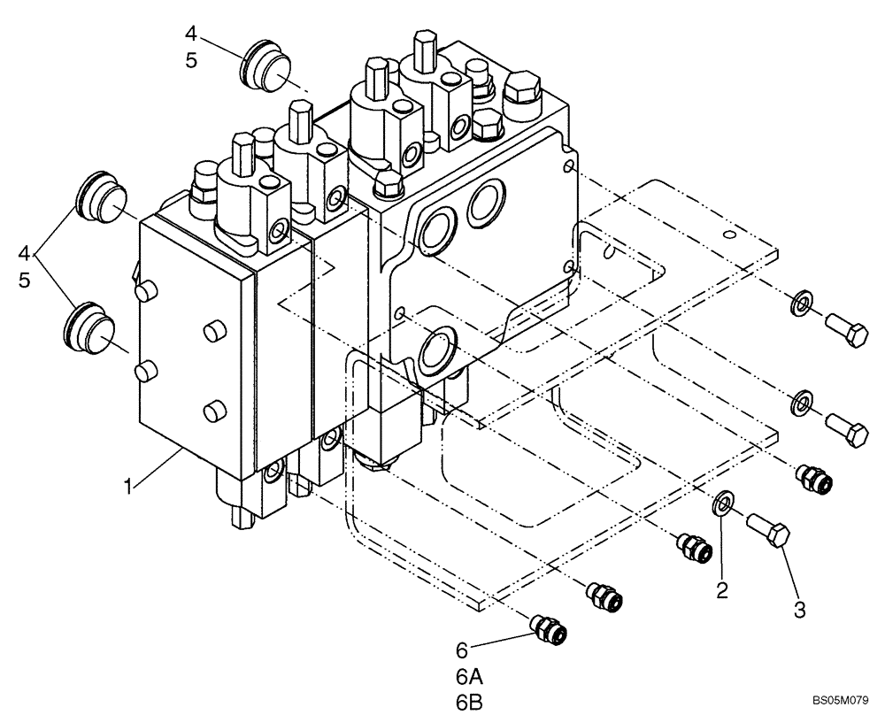
FOUR SPOOL VALVE MOUNTING

1шт.

1

87592836

HYDRAULIC VALVE

Four Spool; XT Loader Valve; See Figures 08-45B - 08-45C; Replaces 87539267; End Plate And Stud Change

1шт.

1

87539264

HYDRAULIC VALVE

Four Spool; Z-Bar Loader Valve; See Figures 08-45 - 08-45A; Replaces 87450852; End Plate And Stud Change

1шт.

2

896-11012

WASHER,13.5mm ID x 24mm OD x 3mm Thk

3шт.

3

627-12030

BOLT,Hex, M12 x 1.75 x 30mm, Cl 10.9, Full Thd

3шт.

4

221527A1

PLUG,Hex Soc, M33 x 2, ORB

Incl. 5; Z-Bar Loader Valves

4шт.

5

637-64296

O-RING,2.9mm Thk x 29.6mm ID, Cl 6, 90 Duro

Boss Seal

1шт.

6

700-101

HYD CONNECTOR,11/16" - 16 Male ORFS x M14 x 1.5 Male ORB

Incl. 6A, 6B; If Used

4шт.

6a

238-6012

O-RING,0.07" Thk x 0.364" ID, -12, Cl 6, 90 Duro

Face Seal

1шт.

6b

637-63113

O-RING,2.2mm Thk x 11.3mm ID, Cl 6

1шт.

Выбрано товаров: 10