Запчасти Case 721E (08-39) - TANDEM PUMP ASSEMBLY - FRONT (08) - HYDRAULICS

Схема запчастей Case 721E - (08-39) - TANDEM PUMP ASSEMBLY - FRONT (08) - HYDRAULICS
2
20
15
12
28
22
11
32
7
23
31
5
4
24
23
13
28
26
27
25
28
29
21
19
18
10
6
9
16
28
17
30
14
23
23
FIT
1:1
100%

Артикул

Название

Примечание

Количество

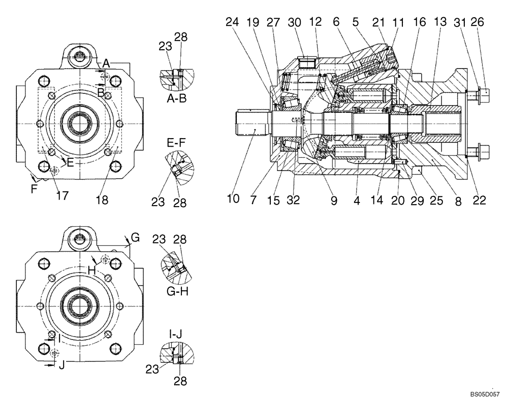
8602845

HYDRAULIC PUMP

Front Pump Assy; Includes 8604960 Pilot Valve and 8602847 Base Unit, Refs. 4-32

1шт.

8604960

CONTROL VALVE

Pilot; See Figure 08-40, Ref. 11

1шт.

8602847

HYDRAULIC VALVE

Base Unit; Incl. Refs. 4-32

1шт.

4

8602848

HYDRAULIC VALVE

Rotary Group; See Figure 04-40

1шт.

5

8602849

CONTROL

Piston

1шт.

6

8602817

PUMP

1шт.

7

8602850

HOUSING

Pump

1шт.

8

8602851

PLATE

Port

1шт.

9

8602852

SWASH PLATE

Swash

1шт.

10

8602853

SHAFT

Drive

1шт.

11

8602854

PLUG

1шт.

12

8602855

SPRING

1шт.

13

8602856

SHAFT

Gear Coupler; Not Illustrated

1шт.

14

8602857

SHIM

1шт.

15

8604957

TAPERED BEARING

1шт.

16

8602858

TAPERED BEARING

1шт.

17

8602859

SHELL

1шт.

18

8602860

SHELL

1шт.

19

8602861

SEAL

Shaft

1шт.

20

8602862

O-RING,2.5mm Thk x 125mm ID

1шт.

21

8604956

O-RING,2.5mm Thk x 125mm ID

1шт.

22

8602863

O-RING,3mm Thk x 104mm ID

Not Illustrated

1шт.

23

8604955

O-RING,7.65mm ID x 1.68mm Width

2шт.

24

8604954

RING

1шт.

25

8602864

SCREW,M14 x 35mm, Cl 10.9

M14 x 35; 10.9

4шт.

26

8602865

SCREW,M12 x 30mm, Gr 8.8

M12 x 30; 8.8; Not Illustrated

2шт.

27

8602866

RING

Stop

1шт.

28

8604958

PLUG

M6; Not Illustrated

2шт.

29

8602832

PIN

Dowel

1шт.

30

8602833

PLUG

1шт.

31

8602867

DISC

2шт.

32

8604959

SCREW,CSK, M5 x 16mm

Countersink

2шт.

Выбрано товаров: 32